EasyManua.ls Logo

Haier 4U85S2SR2FA - Page 128

Haier 4U85S2SR2FA
257 pages
Print Icon
To Next Page IconTo Next Page
To Next Page IconTo Next Page
To Previous Page IconTo Previous Page
To Previous Page IconTo Previous Page
Loading...
125
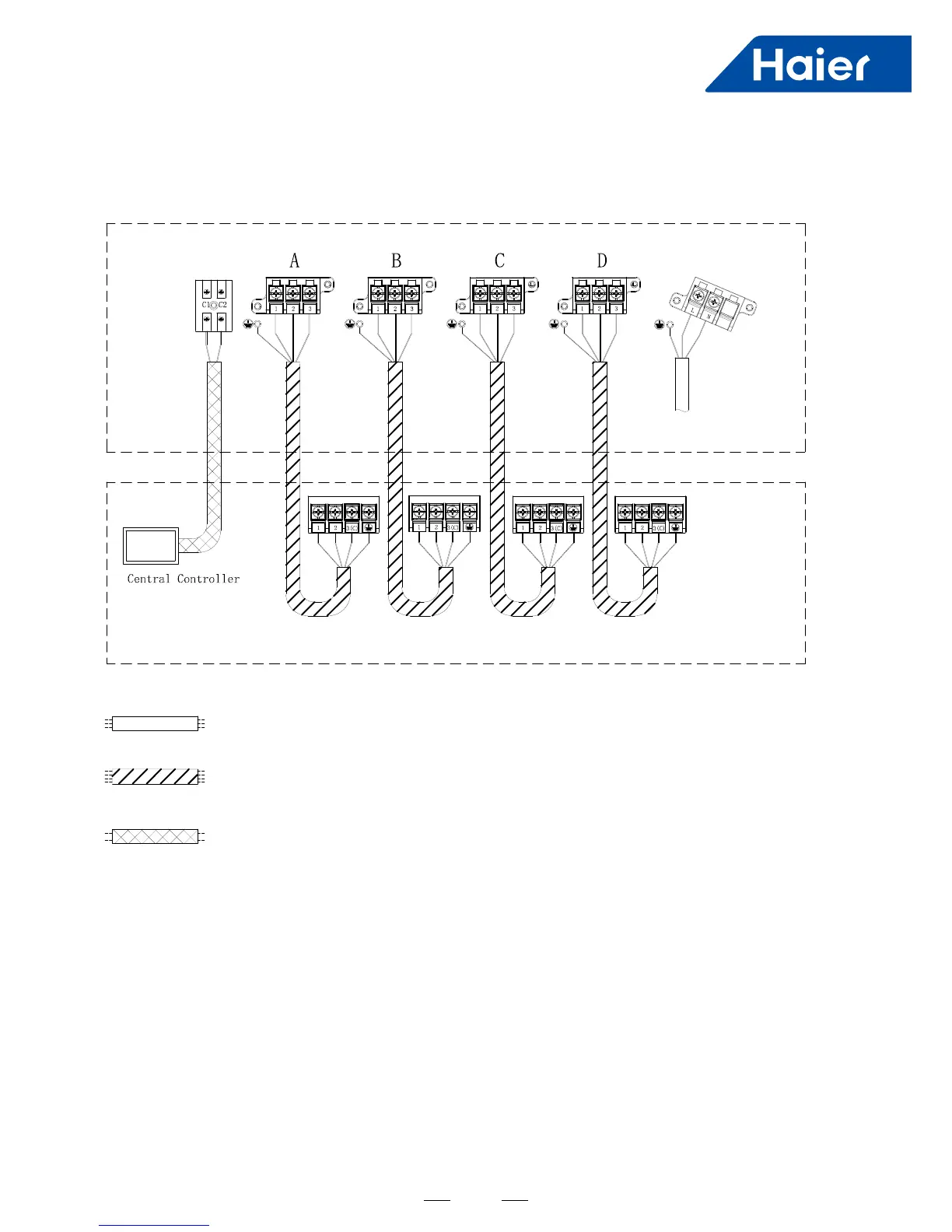
Connect the connecting wires between indoor and outdoor units and ensure the sequence numbers on terminals
match with each other.
Teminal block
Power Supply
1PH,220~240V
~
,50/60Hz
Central Controller
Indoor Unit A
Indoor Unit B
Indoor Unit C
Power Supply Cable: H05RN-F3G 4.0mm
2
Connecting Cable: H05RN-F4G 2.0mm
2
Connecting Cable: H05RN-F2G 2.0mm
2
4U75S2SR2FA
4U85S2SR2FA
Teminal block
Indoor Unit A
Indoor Unit B
Indoor Unit C
Indoor Unit D
Power Supply Cable: H05RN-F3G 4.0mm
2
Connecting Cable: H05RN-F4G 2.0mm
2
Connecting Cable: H05RN-F2G 2.0mm
2
Power Supply
1PH,220~240V
~
,50/60Hz

Other manuals for Haier 4U85S2SR2FA

Related product manuals