EasyManua.ls Logo

Haier HCE520EK - Page 4

Haier HCE520EK
62 pages
Print Icon
To Next Page IconTo Next Page
To Next Page IconTo Next Page
To Previous Page IconTo Previous Page
To Previous Page IconTo Previous Page
Loading...
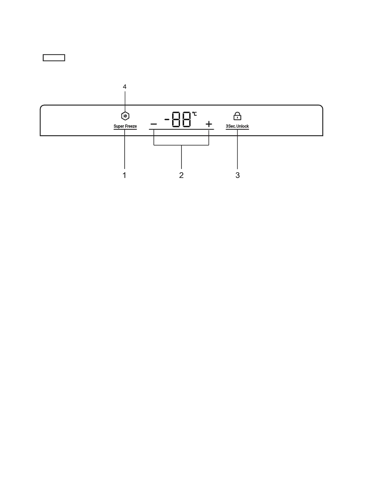
FIG. 4

Related product manuals