EasyManua.ls Logo

Haier HTW5620DNPT - Page 199

Haier HTW5620DNPT
554 pages
To Next Page IconTo Next Page
To Next Page IconTo Next Page
To Previous Page IconTo Previous Page
To Previous Page IconTo Previous Page
Loading...
ES
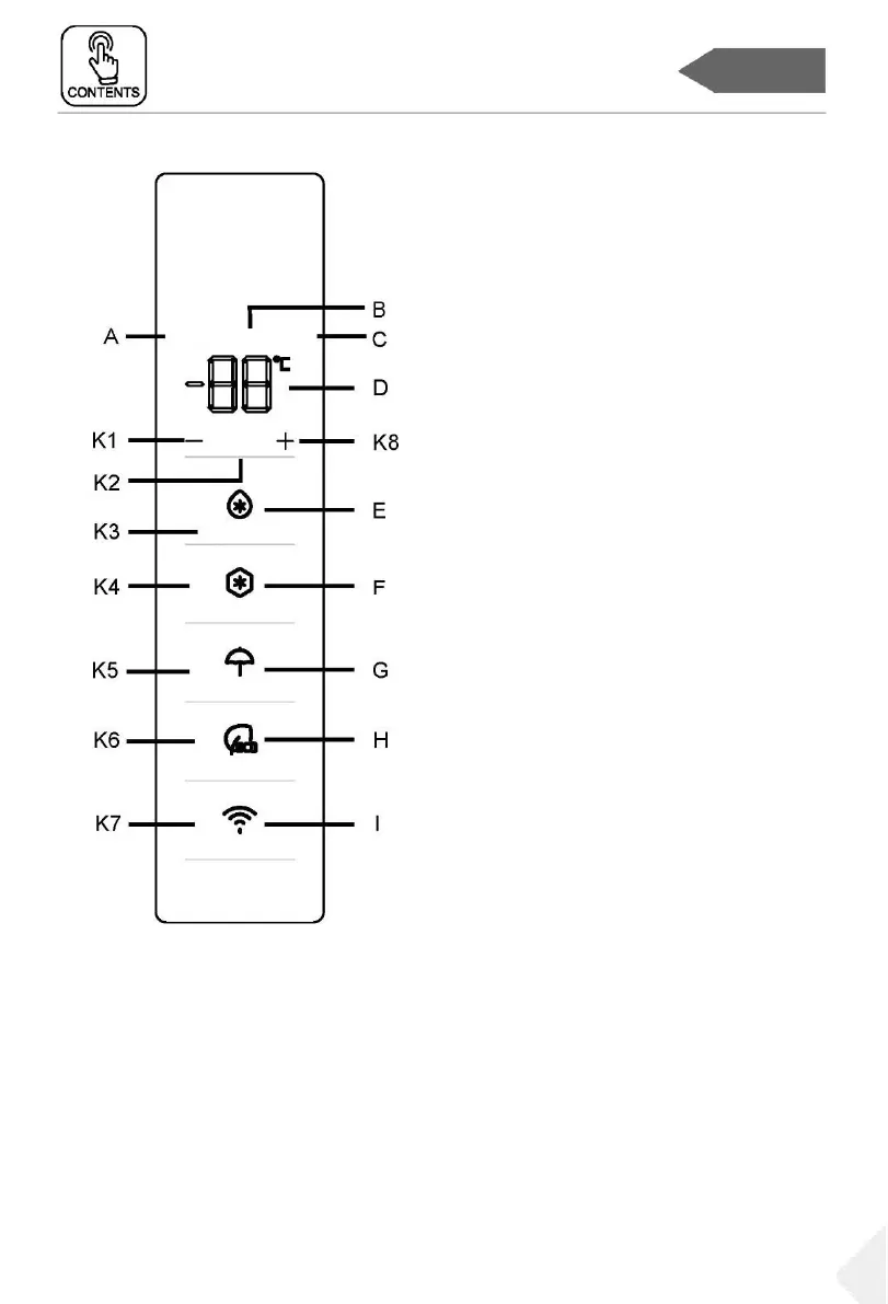
Panel de control
199
Panel de control
Panel de control
Indicadores:
A Compartimento frigorífico
B Compartimento frigorífico (My Zone)
C Compartimento congelador
D Indicador de temperatura
E Función Super Cool
F Función Super Freeze
G Función Holiday
H Función Eco Mode
I Función Wi-Fi
Botones:
K1 Disminución de temperatura
K2 Selección de frigorífico, My Zone y
congelador
K3 Encendido/apagado de la función Super
Cool
K4 Encendido/apagado de la función Super
Freeze
K5 Encendido/apagado de la función
Holiday
K6 Encendido/apagado de la función Eco
Mode
K7 Encendido/apagado de la función Wi-Fi
K8 Aumento de temperatura
Antes del primer uso
Retire todo el material de embalaje, manténgalo fuera del alcance de los niños y
deséchelo de forma respetuosa con el medio ambiente.
Limpie el interior y el exterior del electrodoméstico, así como el interior y los
accesorios con agua y un detergente suave, y séquelo bien con un paño suave.
Después de nivelar y limpiar el electrodoméstico, espere al menos 2 horas antes de
conectarlo a la fuente de alimentación. Ver sección INSTALACIÓN.
INTELIGENCIA
ARTIFICIAL
Frigofico My Zone Congelador
ZONA
Super Cool
Super Freeze
Holiday
Eco Mode
Wi-Fi

Related product manuals