EasyManua.ls Logo

Haier HTW5620DNPT - Page 241

Haier HTW5620DNPT
554 pages
To Next Page IconTo Next Page
To Next Page IconTo Next Page
To Previous Page IconTo Previous Page
To Previous Page IconTo Previous Page
Loading...
FR
Description du produit
241
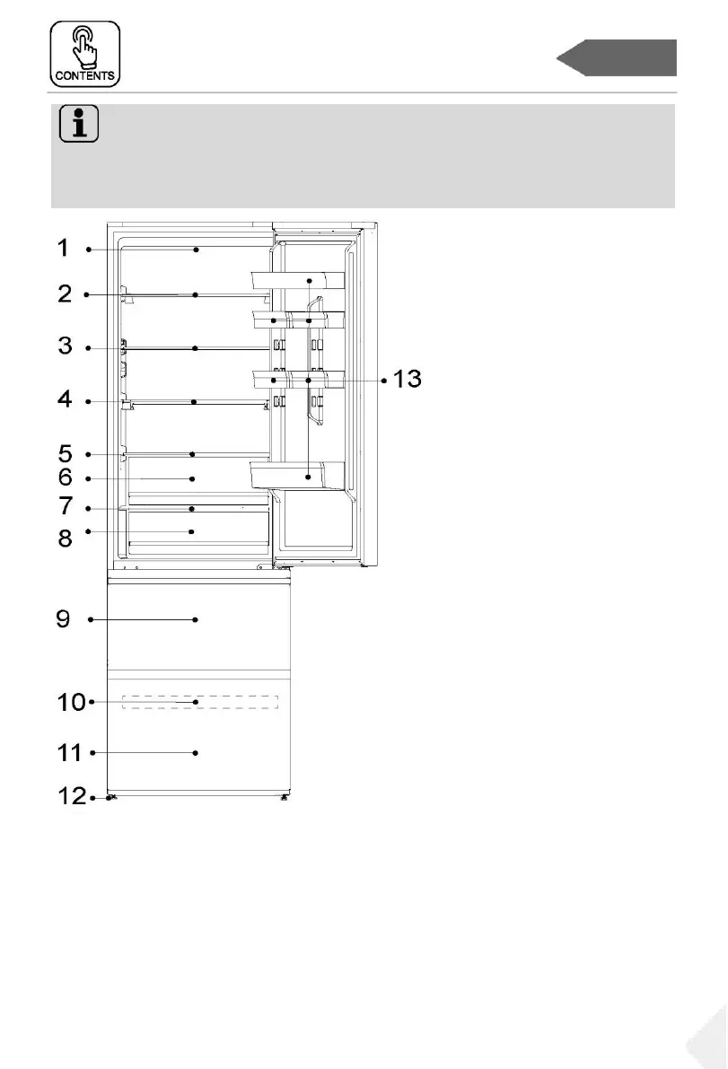
Description du prod uit
REMARQUE
En raison des changements techniques et de différents modèles, certaines des
illustrations de ce manuel peuvent différer de votre modèle.
(HTW5620DN*, HTW5620CN*)
1-Lampe à LED du réfrigérateur
2-Porte-bouteilles
3-Clayette en verre
4-Étagère pliable
5-Cache-tiroir Humidity Zone
6-Tiroir Humidity Zone
7-Cache-tiroir My Zone
8-Tiroir My Zone
9-Tiroir de rangement supérieur
du congélateur
10-Plateau du congélateur
11-Tiroir de rangement inférieur du
congélateur
12-Pieds réglables
13-Balconnet de porte

Related product manuals