EasyManua.ls Logo

Hamilton Beach 22990 - Parts and Features; Appliance Components Overview; How to Toast; Operating the Toaster

Hamilton Beach 22990
5 pages
Print Icon
To Next Page IconTo Next Page
To Next Page IconTo Next Page
To Previous Page IconTo Previous Page
To Previous Page IconTo Previous Page
Loading...
Read before use.
Lire avant l’utilisation.
Lea antes de usar.
840307700 11/18
w WARNING
To reduce the risk of fire:
Do not operate while unattended.
Do not use with food that has been spread with butter, jelly, frosting, etc.
Do not use with rice cakes, fried foods, frozen prepared foods, or nonbread
items.
Do not use with toaster pastries. Always cook toaster pastries in a toaster oven
broiler.
Do not cover or use near curtains, walls, cabinets, paper or plastic products,
cloth towels, etc.
Closely supervise when used near children.
Always unplug toaster when not in use.
Failure to follow these instructions can result in death or fire.
IMPORTANT SAFEGUARDS
When using electrical appliances, basic safety precautions should always be
followed to reduce the risk of fire, electric shock, and/or injury to persons,
including the following:
1. Read all instructions.
2. This appliance is not intended for use by persons (including children) with
reduced physical, sensory, or mental capabilities, or lack of experience and
knowledge, unless they are closely supervised and instructed concerning use
of the appliance by a person responsible for their safety.
3. Close supervision is necessary when any appliance is used by or near
children. Children should be supervised to ensure that they do not play with
the appliance.
4. Do not operate toaster while unattended.
5. Do not attempt to dislodge food when toaster is plugged in.
6. To protect against electrical shock, do not immerse cord, plug, or toaster in
water or other liquid.
7. Unplug from outlet when not in use and before cleaning. Allow to cool before
putting on or taking off parts, or moving toaster.
8. Do not operate any appliance with a damaged supply cord or plug, or
after the appliance malfunctions or has been dropped or damaged in any
manner. Supply cord replacement and repairs must be conducted by the
manufacturer, its service agent, or similarly qualified persons in order to
avoid a hazard. Call the provided customer service number for information on
examination, repair, or adjustment.
9. Oversized foods, metal foil packages, or utensils must not be inserted in a
toaster as they may involve a risk of fire or electric shock.
10. Do not clean with metal scouring pads. Pieces can break off pad and touch
electrical parts, resulting in risk of electrical shock.
11. The bread may burn. A fire may occur if toaster is covered or touching
flammable material, including curtains, draperies, walls, overhead cabinets,
paper or plastic products, cloth towels, and the like, when in operation.
12. Do not operate toaster in an enclosed space, such as an appliance cabinet,
caddy, garage, or other storage area.
13. Do not cook, warm, or toast rice cakes, fried foods, nonbread items or toaster
pastries. Toaster pastries should be heated in a toaster oven broiler. Do not
heat any food product that has been spread or iced with margarine, butter,
jelly, frosting, syrup, or other spread.
14. Failure to clean crumb tray may result in a fire hazard.
15. Do not place on or near a hot gas or electric burner or in a heated oven.
16. Do not touch hot surfaces. Use handles or knobs.
17. The use of accessory attachments not recommended by the appliance
manufacturer may cause injuries.
18. Do not let cord hang over edge of table or counter or touch hot surfaces, including
the stove.
19. Before unplugging toaster, make sure bread lifter is in “up” position.
20. Do not use outdoors.
21. Do not use toaster for other than intended use.
22. This product is for household use only.
23. Do not operate the appliance by means of an external timer or separate
remote-control system.
24. CAUTION! Hot Surface. The temperature of accessible surfaces may be
high when the appliance is operating.
SAVE THESE INSTRUCTIONS
Other Consumer Safety Information
To avoid an electrical circuit overload, do not use another high-wattage appliance on
the same circuit with this appliance.
w WARNING
Electrical Shock Hazard: This product is provided with a polarized
plug (one wide blade) to reduce the risk of electric shock. The plug fits only one way
into a polarized outlet. Do not defeat the safety purpose of the plug by modifying the
plug in any way or by using an adapter. If the plug does not fit fully into the outlet,
reverse the plug. If it still does not fit, have an electrician replace the outlet.
The length of the cord used on this appliance was selected to reduce the hazards
of becoming tangled in or tripping over a longer cord. If a longer cord is necessary,
an approved extension cord may be used. The electrical rating of the extension cord
must be equal to or greater than the rating of the appliance. Care must be taken to
arrange the extension cord so that it will not drape over the countertop or tabletop
where it can be pulled on by children or accidentally tripped over.
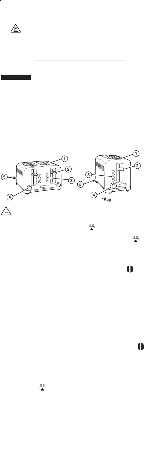
Parts and Features*
CAUTION! Hot Surface. The temperature of accessible surfaces may be high
when the appliance is operating.
1. Extra-Wide Slots with Bread Guides
2. Bread Lifter with High-Lift Toast Boost ( ) –
Push down Bread Lifter to
start Toaster. The Bread Lifter may be lifted up to stop toasting during a cycle.
After toast cycle ends, raise Bread Lifter with High-Lift Toast Boost ( ) to easily
remove food.
3. Programming Buttons
Cancel
To cancel or end a cycle, press CANCEL.
Bagel – Use to toast only one side of a cut bagel, English muffin, or bun.
Load Toaster with cut side of food facing in, as shown by the icon near
the slots. To use, press BAGEL after toast cycle has started.
Defrost – Use only on frozen foods that were made to be placed in a toaster. This
feature allows additional time for food to thaw and heat through. To use, press
DEFROST after the toast cycle has started.
Reheat – Use to start a 30-second reheat of previously toasted items without
adding color. To use, press REHEAT after toast cycle has started.
4. Shade Selector – Turn dial to adjust toast shade.
5. Slide-Out Crumb Tray (in back of Toaster)
How to Toast
1. Plug into outlet.
2. Place appropriate food items in Slots. If toasting bagels, English muffins, or
buns, load Toaster with cut side of food facing in, as shown by the near
the slots.
3. Push Bread Lifter down to start Toaster.
NOTE: The Bread Lifter will not latch down unless the Toaster is plugged in.
4. Turn Shade Selector from 1 to 7. If toasting a bagel or frozen item, also press
Bagel and/or Defrost Button.
5. At the end of toasting cycle, bread will pop up automatically. Raise the High-
Lift Toast Boost ( ) to easily remove food.
6. To stop the toasting cycle sooner, lift up Bread Lifter or press the Cancel button.
NOTE: Do not heat toaster pastries (such as Pop-Tarts
®
) in Toaster—use toaster
oven. If you must use Toaster, ALWAYS set to lowest shade setting; NEVER heat
cracked, broken, or warped pastries; and NEVER leave unattended.
® Pop-Tarts is a registered trademark of the Kellogg Co.
Care and Cleaning
NOTE: If the Toaster is used daily, the Crumb Tray should be cleaned weekly.
1. Unplug Toaster and let cool.
2. Slide out the Crumb Tray, discard crumbs, and wipe off with clean cloth; then
slide back into place.
3. Wipe outside of Toaster with a damp cloth. Do not use abrasive cleansers
that may scratch the surface of the Toaster.
Troubleshooting
To remove food that becomes lodged in the Slots, disconnect Toaster from
outlet and allow it to cool. Use a nonmetal utensil to loosen food from the grill
wires, allowing it to fall into the Crumb Tray. Empty Crumb Tray.
When toasting a single slice, you may notice variations in bread color from side
to side.
Toasting is affected by the temperature of the bread. Room-temperature bread
may toast to a medium color on the medium setting. The same type of bread that
has been refrigerated may require a darker setting to reach a medium color.
If Toaster is plugged in and elements are not glowing red, food will get toasted.
While toasting, elements don’t have to be red to be working properly.
Limited Warranty
This warranty applies to products purchased and used in the U.S. and Canada. This is the
only express warranty for this product and is in lieu of any other warranty or condition.
This product is warranted to be free from defects in material and workmanship for a period of five
(5) years from the date of original purchase in Canada and two (2) years from the date of original
purchase in the U.S. During this period, your exclusive remedy is repair or replacement of this
product or any component found to be defective, at our option; however, you are responsible for
all costs associated with returning the product to us and our returning a product or component
under this warranty to you. If the product or component is no longer available, we will replace
with a similar one of equal or greater value.
This warranty does not cover glass, filters, wear from normal use, use not in conformity
with the printed directions, or damage to the product resulting from accident, alteration,
abuse, or misuse. This warranty extends only to the original consumer purchaser or
gift recipient. Keep the original sales receipt, as proof of purchase is required to make a
warranty claim. This warranty is void if the product is used for other than single-family
household use or subjected to any voltage and waveform other than as specified on the
rating label (e.g., 120 V ~ 60 Hz).
We exclude all claims for special, incidental, and consequential
damages caused by breach
of express or implied warranty. All liability is limited to the amount of the purchase
price. Every implied warranty, including any statutory warranty or condition of
merchantability or fitness for a particular purpose, is disclaimed except to the extent
prohibited by law, in which case such warranty or condition is limited to the duration
of this written warranty. This warranty gives you specific legal rights. You may have
other legal rights that vary depending on where you live. Some states or provinces do not
allow limitations on implied warranties or special, incidental, or consequential damages, so
the foregoing limitations may not apply to you.
To make a warranty claim, do not return this appliance to the store. Please call
1.800.851.8900 in the U.S. or 1.800.267.2826 in Canada or visit hamiltonbeach.com in the
U.S. or hamiltonbeach.ca in Canada. For faster service, locate the model, type, and series
numbers on your appliance.
* Appearance varies by model
w AVERTISSEMENT
Pour réduire le risque d’incendie :
Ne pas faire fonctionner sans surveillance.
Ne pas utiliser avec des aliments beurrés, tartinés, glacés, etc.
Ne pas utiliser avec des croquettes de riz, des aliments frits, plats préparés
surgelés ou des articles qui ne sont pas du pain.
Ne pas utiliser avec des pâtisseries à griller. Toujours faire cuire les pâtisseries dans
un four grille-pain.
Ne pas couvrir le grille-pain ou l’utiliser près de rideaux, murs, armoires,
produits en papier ou en plastique, serviettes en tissu, etc.
Une bonne surveillance est nécessaire pour tout utilisation par des enfants ou
près d’eux.
Toujours débrancher le grille-pain lorsqu’on ne l’utilise pas.
Le non-respect de ces instructions peut causer un décès ou un incendie.
PRÉCAUTIONS IMPORTANTES
Pour utiliser un appareil électroménager, vous devez toujours prendre des mesures
élémentaires de sécurite pour réduire le risque d’incendie d’électrocution et/ou de
blessure corporelle, en particulier les mesures suivantes :
1. Lire toutes les instructions.
2. Cet appareil n’est pas destiné à être utilisé par des personnes (y compris les
enfants) dont les capacités physiques, sensorielles ou mentales sont réduites,
ou manquant d’expérience et de connaissance, sauf si elles sont étroitement
surveillées et instruites sur l’utilisation de l’appareil par une personne
responsable de leur sécurité.
3. Une surveillance étroite est requise pour tout appareil utilisé par ou près des
enfants. Surveiller que les enfants ne jouent pas avec l’appareil.
4. Ne pas faire fonctionner le grille-pain sans surveillance.
5. Ne pas essayer de dégager un aliment lorsque le grille-pain est branché.
6. Pour protéger contre le risque de choc électrique, ne pas immerger le cordon,
la fiche ou le grille-pain dans l’eau ou autre liquide.
7. Débrancher le grille-pain de la prise de courant lorsqu’il n’est pas utilisé et
avant le nettoyage. Le laisser refroidir avant d’y ajouter ou d’y enlever des
pièces ou de le déplacer.
8. Ne pas faire fonctionner un appareil électroménager avec un cordon du une
fiche endommagée, ou lorsque l’appareil ne fonctionne pas bien ou a été
échappé ou endommagé d’une manière quelconque. Le remplacement et la
réparation du cordon d’alimentation doivent être faits par le fabricant, son
agent de service ou toute personne qualifiée de façon à éviter tout danger.
Appeler le numéro de service à la clientèle fourni pour des renseignements
concernant l’examen, la réparation ou l’ajustement.
9. Ne pas insérer des aliments de trop grande taille, des emballages en feuille
métallique ou des ustensiles dans les fentes du grille-pain, car ces éléments
peuvent provoquer un risque d’incendie ou de choc électrique.
10. Ne pas nettoyer l’appareil avec des tampons métalliques à récurer. Des
pièces peuvent se séparer du tampon et toucher des parties électriques et
entraîner un risque de choc électrique.
11. Le pain peut brûler. Un incendie peut survenir si le grille-pain est recouvert ou
en contact avec un matériau inflammable, y compris rideaux, tentures, murs,
armoires en surplomb, produits en papier ou en plastique, serviettes en tissu
et autres articles semblables, lorsqu’il fonctionne.
12. Ne pas faire fonctionner le grille-pain dans un endroit clos tel que la caisse
d’un appareil ménager, une boîte de rangement, un garage ou autre lieu de
rangement.
13. Ne pas faire cuire, réchauffer ou griller des croquettes de riz, des aliments
frits, des articles qui ne sont pas du pain ou des pâtisseries à griller. Les
tisseries à griller devraient être réchauffées dans un four grille-pain. Ne
pas faire chauffer d’aliments sur lesquels on a étendu margarine, beurre,
gelée, glaçage, sirop ou autre garniture.
14. L’omission de nettoyer le plateau à miettes peut entraîner un risque d’incendie.
15. Ne pas placer l’appareil sur ou près d’un brûleur chaud à gaz ou électrique ou
dans un four chauffé.
16. Ne pas toucher les surfaces chaudes. Utiliser les poignées ou les boutons.
17. L’utilisation d’accessoires non recommandés par le fabricant de l’appareil
peut causer des blessures.
18. Ne pas laisser le cordon pendre du bord d’une table ou d’un comptoir ou
toucher des surfaces chaudes, y compris la cuisinière.
19. Avant de débrancher le grille-pain, s’assurer que la manette de
soulèvement est à la position soulevée.
20. Ne pas utiliser à l’extérieur.
21. Ne pas utiliser le grille-pain pour toute autre fin que son utilisation déterminée.
22. Ce produit est destiné à l’utilisation domestique seulement.
23. Ne pas faire fonctionner cet appareil avec une minuterie externe ou un
système de télécommande distinct.
24. ATTENTION ! Surface Chaude. La température des surfaces d’accès
peut être élevée pendant que l’appareil fonctionne.
CONSERVER CES INSTRUCTIONS
Autres consignes de sécurité pour le consommateur
Pour éviter la surcharge du circuit électrique, ne pas utiliser un autre appareil à
haute puissance sur le même circuit que cet appareil.
w AVERTISSEMENT
Risque de choc électrique : Ce produit est fourni avec
une fiche polarisée (une broche large) pour réduire le risque d’électrocution. Cette
fiche n’entre que dans un seul sens dans une prise polarisée. Ne contrecarrez pas
l’objectif sécuritaire de cette fiche en la modifiant de quelque manière que ce soit
ou en utilisant un adaptateur. Si vous ne pouvez pas insérer complètement la fiche
dans la prise, inversez la fiche. Si elle refuse toujours de s’insérer, faire remplacer la
prise par un électricien.
La longueur du cordon installé sur cet appareil a été sélectionnée afin de
réduire les risques d’enchevêtrement ou de faux pas causés par un fil trop long.
L’utilisation d’une rallonge approuvée est permise si le cordon est trop court. Les
caractéristiques électriques de la rallonge doivent être équivalentes ou supérieures
aux caractéristiques de l’appareil. Prendre toutes les précautions nécessaires pour
installer la rallonge de manière à ne pas la faire courir sur le comptoir ou sur une
table pour éviter qu’un enfant ne tire sur le cordon ou trébuche accidentellement.
Pièces et caractéristiques*
For questions and
other information:
Pour des questions et
d’autres informations :
Para preguntas y otra
información:
USA Canada México
hamiltonbeach.com
1.800.851.8900
hamiltonbeach.ca
1.800.267.2826
hamiltonbeach.com.mx
01 800 71 16 100
* L’apparence varie selon le modèle.
ATTENTION ! Surface chaude. La température des surfaces extérieures sera
plus élevée pendant le fonctionnement de l’appareil.
1. Fentes extra larges avec guides-pain
2. Éjecteur de pain/Levier d’éjection de rôties manuelle ( ) – Pousser vers le bas
l’éjecteur de pain pour commencer à griller. Vous pouvez soulever l’éjecteur de pain
pour arrêter de griller pendant un cycle. Dès la fin du cycle de grillage, soulever le
levier d’éjection de rôties manuelle ( ) pour retirer facilement les aliments.
Le invitamos a leer cuidadosamente este instructivo antes de usar su aparato.

Related product manuals