EasyManua.ls Logo

Hamilton Beach 6200 - Parts Listing

Hamilton Beach 6200
15 pages
Print Icon
To Next Page IconTo Next Page
To Next Page IconTo Next Page
To Previous Page IconTo Previous Page
To Previous Page IconTo Previous Page
Loading...
6
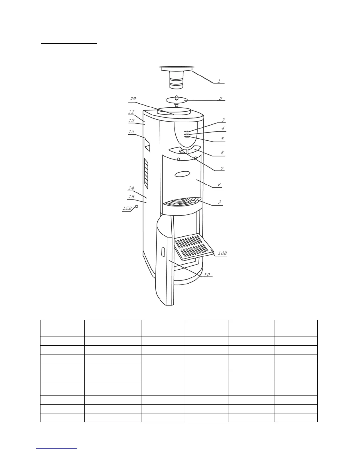
Parts Listing:
Part No. Part Name Part No. Shown
on Diagram
Part No. Part Name Part No. Shown
on Diagram
HB-BS-1003 Bottle Supporter 1 HB-DT-1012 Drip Tray 9
HB-SE-1004 Separator 2 HB-SD-1013 Storage Door 10
HB-CT-1005 Cold Water Tank 2B HB-RS-1014 Removable Shelf 10B
HB-GIL-1006 Green Indicator Light 3 HB-HS-1015 Heating Switch 11
HB-RIL-1007 Red Indicator Light 4 HB-CS-1016 Cooling Switch 12
HB-BIL-1008 Blue Indicator Light 5 HB-TH-1017 Thermostat
(Do not touch)
13
(Under panel)
HB-CWF-1009 Cold Water Faucet 6 HB-PC-1018 Power Cord 14
HB-HWF-1010 Hot Water Faucet 7 HB-DOC-1019 Drain Outlet Cap 15
HB-CAS-1011 Casing 8 HB-SS-1020 Silicon Stopper 15B

Related product manuals