EasyManua.ls Logo

Hans Grohe Raindance - Page 261

Hans Grohe Raindance
311 pages
Print Icon
To Next Page IconTo Next Page
To Next Page IconTo Next Page
To Previous Page IconTo Previous Page
To Previous Page IconTo Previous Page
Loading...
9
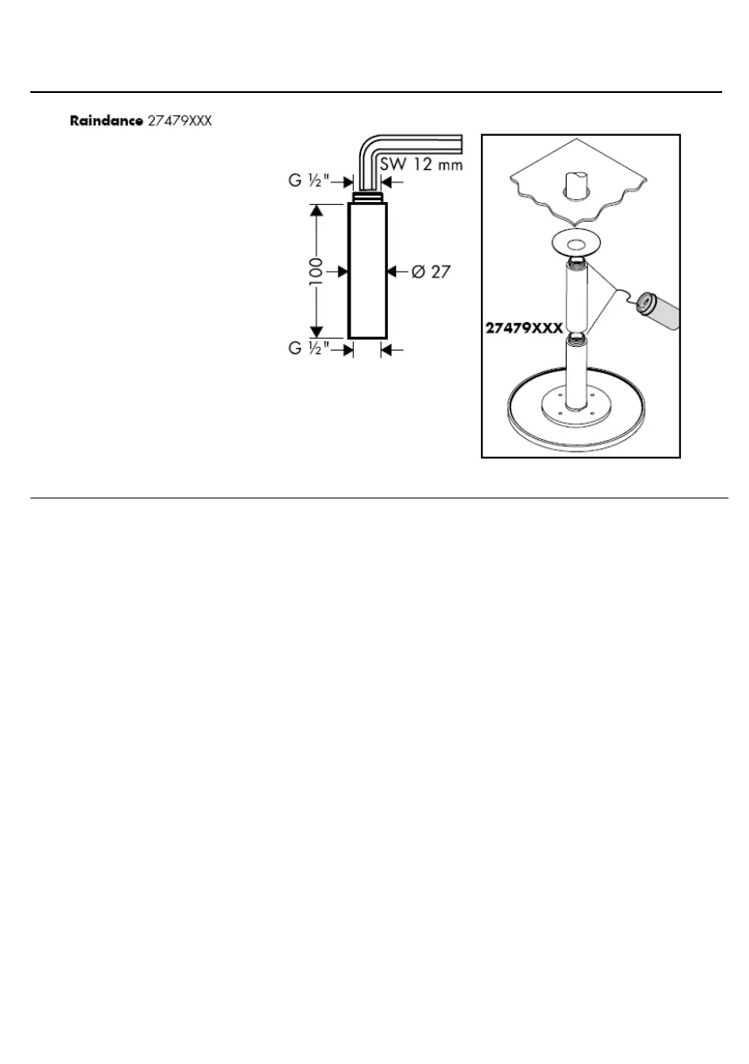
Raindance 27471000 / 27472000
Raindance Air 27474000/27476000/27477000/27478000/27468000/27493000/27494000
ﻢﻜﺤﺘﻟا تاذ ءﺎﻤﻟا ﻖﻓﺪﺗ تﺎﻧﺎﺨﺳ ﻊﻣ ﻪهوﺮﺟﺰﻧﺎه شد ماﺪﺨﺘﺳا ﻦﻜﻤﻳ
ﻦﻋ ﻞﻘﻳ ﻖﻓﺪﺗ ﻂﻐﺿ ﻊﻣ ،يراﺮﺤﻟا وأ ﻲﻜﻴﻟورﺪﻴﻬﻟا1.5رﺎﺑ .
ﺔﻟﺎﻃإ ﺔﻠﺻو100ﻢﻣ

Related product manuals