EasyManua.ls Logo

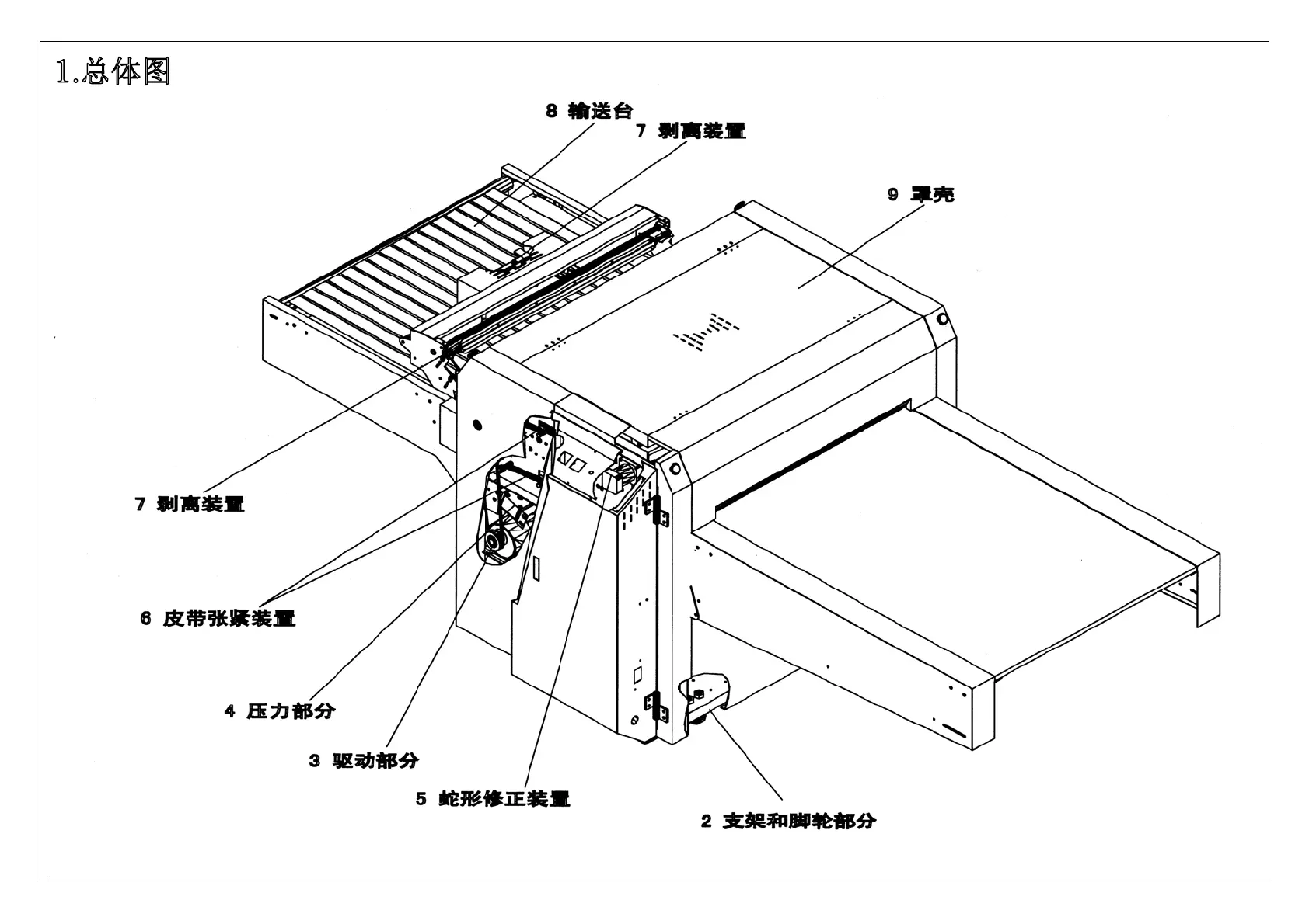
HASHIMA HP-900LF - 1. Overall diagram

Default Icon
39 pages
Print Icon
To Next Page IconTo Next Page
To Next Page IconTo Next Page
To Previous Page IconTo Previous Page
To Previous Page IconTo Previous Page
Loading...
From the Library of Superior Sewing Machine & Supply LLC

Related product manuals