EasyManua.ls Logo

Heli-Max MX400 PRO - Page 18

Heli-Max MX400 PRO
20 pages
Print Icon
To Next Page IconTo Next Page
To Next Page IconTo Next Page
To Previous Page IconTo Previous Page
To Previous Page IconTo Previous Page
Loading...
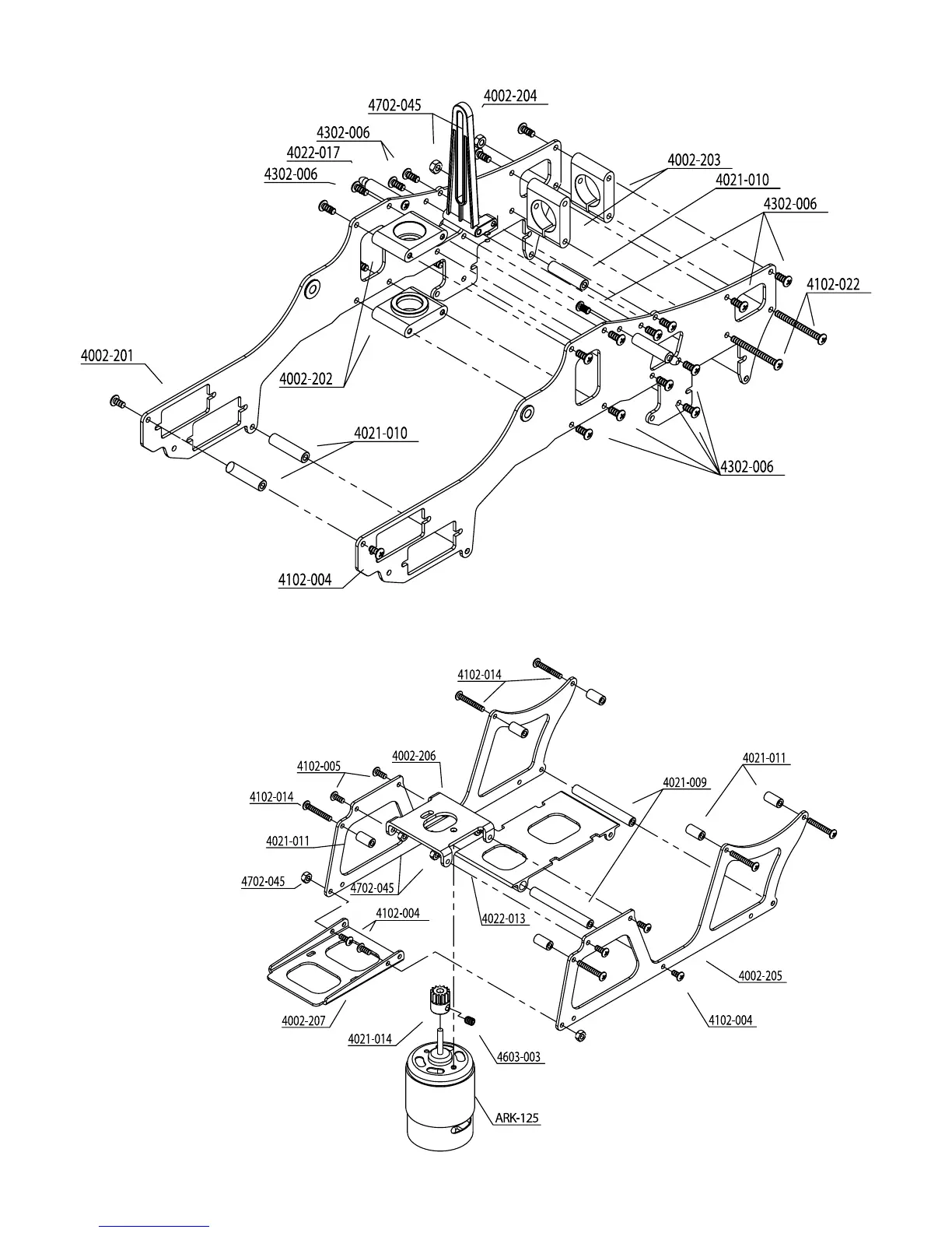
MAIN FRAME
LOWER FRAME
18

Related product manuals