EasyManua.ls Logo

Hisun HS5DUTV-2 - Page 171

Hisun HS5DUTV-2
355 pages
Print Icon
To Next Page IconTo Next Page
To Next Page IconTo Next Page
To Previous Page IconTo Previous Page
To Previous Page IconTo Previous Page
Loading...
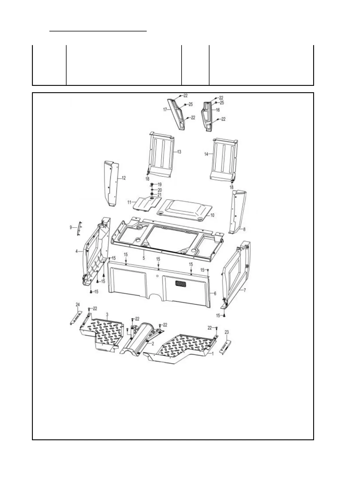
CHASSIS
- 171-
7
Left backplate ,cabin outside
1
8
Rear left wheel regula
1
9
Tank Opening Decorative Cover
1