EasyManua.ls Logo

Hitachi Compute Blade 500 Series - Flowchart of the Utility; Key Operation for the Utility

Hitachi Compute Blade 500 Series
506 pages
To Next Page IconTo Next Page
To Next Page IconTo Next Page
To Previous Page IconTo Previous Page
To Previous Page IconTo Previous Page
Loading...
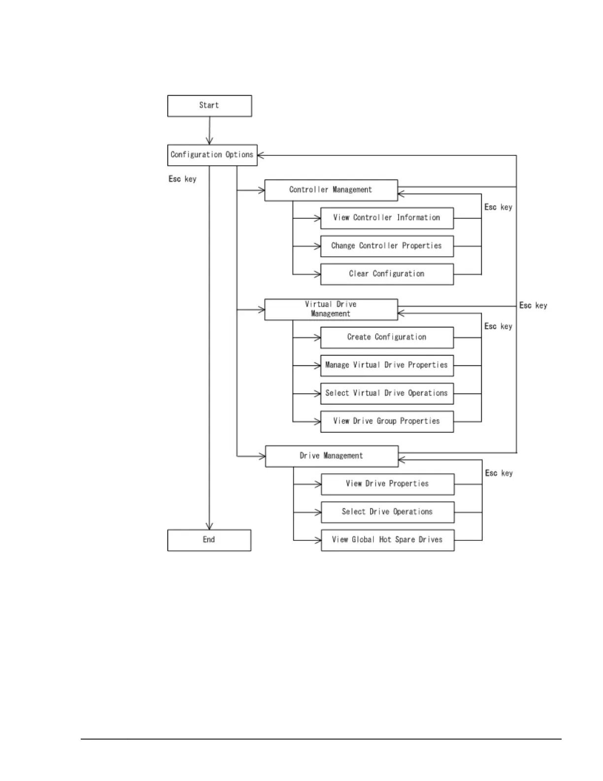
Flowchart of the utility
The following flowchart shows configuration of LSI Software RAID
Configuration Utility.
Key operation for the utility
This section describes how to operate the SAS configuration utility with the
keyboard.
LSI Software RAID Configuration Utility for disk arrays
6-3
Hitachi Compute Blade 500 Series EFI User's Guide

Table of Contents

Other manuals for Hitachi Compute Blade 500 Series

Related product manuals