EasyManua.ls Logo

Hitachi SML-110 - Page 2

Hitachi SML-110
4 pages
Print Icon
To Next Page IconTo Next Page
To Next Page IconTo Next Page
To Previous Page IconTo Previous Page
To Previous Page IconTo Previous Page
Loading...
RSE-3A2, p. 2
RSE-3A2
Rev. 4-18
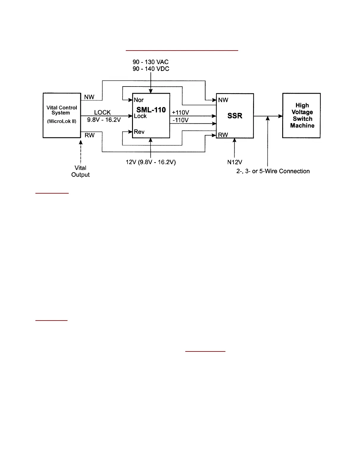
SML-110 Switch Lock and
PN-150SSR Solid-State Relay
SML-110/PN-150SSR Circuit Application
Advantages
Reduced cost when compared to equivalent vital
relay control.
Compatible with existing relay rack mounting.
Eliminates various switch machine electro-mech.
relays
Can simultaneously operate two high voltage
switch machines
Interfaces to MicroLok II or non-Hitachi Rail STS
USA interlocking controllers
Built-in overload and short circuit protection in SML
unit.
PN-150 style relay for fast installation
Relay’s LEDs indicate energy state
Application
The SML-110 Switch Machine Lock and the PN-
150SSR Solid State Relay replace the vital relays
normally used to control switch machines. They can
be installed at microprocessor-based or conventional
vital relay interlockings. The SML -110 unit can
sustain a short circuit on its output terminals without
suffering any damage. Overload protection is
provided with a built-in timer. The timer will shut off
the SML-110 output after 18 seconds if switch
correspondence is not achieved. Correspondence
normally occurs well before 18 seconds, and, that
time, the switch machine contacts interrupt the motor
current.
If preferred, traditional overload protection methods
can also be used. A processor based interlocking
controller can be programmed to shut off the SML-110
after a predetermined time. For a relay-based
interlocking applications, an overload relay can be
used.
A single switch requires one SML-110 unit and one
PN-150SSR Solid State Relay. In the case of a
double crossover, the same SML-110 unit can be
used for all machines at the location. One PN-
150SSR relay is required for each switch.
Designed and manufactured for mounting in a
standard relay rack, the SML-110 Switch Lock
occupies three PN-150B relay spaces and nests with
other relays.
The PN-150SSR is only used with the SML-110 unit.
This relay requires two basic inputs, including the
voltage from the SML-110 and a second input, which
is either the normal or the reverse switch request. The
input can originate from relay contacts or a vital
interlocking processor such as MicroLok II.
Specifications
SML-110
Input Voltage: 90 to 130 Vac; 90 to 140
Vdc.
Output Voltage: 125 Vdc (current limit to
23A).
Input-to-Output Isol.: 2000 Vrms