EasyManua.ls Logo

Honeywell Fire-Lite Alarms D365PL - Cleaning; Sensor Replacement; Optional Accessories; Remote Test Using Sensor with Remote Test Capability

Honeywell Fire-Lite Alarms D365PL
6 pages
To Next Page IconTo Next Page
To Next Page IconTo Next Page
To Previous Page IconTo Previous Page
To Previous Page IconTo Previous Page
Loading...
[9] CLEANING
Before removing the detector, notify the proper authorities that the smoke
detector system is undergoing maintenance and will be temporarily out of
service. Disable the zone or system undergoing maintenance to prevent un-
wanted alarms.
1. Remove the sensor to be cleaned from the system.
2. Remove the sensor cover by pressing firmly on each of the four removal
tabs that hold the cover in place.
3. Vacuum the screen carefully without removing it. If further cleaning is re-
quired continue with Step 4, otherwise skip to Step 7.
4. Remove the chamber cover/screen assembly by pulling it straight out.
5. Use a vacuum cleaner or compressed air to remove dust and debris from
the sensing chamber.
6. Reinstall the chamber cover/screen assembly by sliding the edge over the
sensing chamber. Turn until it is firmly in place.
7. Replace the cover using the LEDs to align the cover and then gently push ing
it until it locks into place.
8. Reinstall the detector.
9. Test the detector as described in TESTING.
10. Reconnect disabled circuits.
11. Notify the proper authorities that the system is back on line.
[10] SENSOR REPLACEMENT
The D365PL comes with the sensor head factory installed, part number
SD365R-IV. Other UL listed compatible sensor heads can also be used.
1. Remove the sensor head by rotating counterclockwise.
2. Pull gently to remove it.
3. To replace the sensor head, align the mounting features and rotate clock-
wise into place.
[11] OPTIONAL ACCESSORIES
Optional accessories include RA100Z, RTS151 and RTS151KEY.
NOTE: Ensure blue wire always remains connected to RA+ on the field con-
nector side of the terminal block.
FIGURE 8. WIRING DIAGRAM FOR D365PL TO RA100Z
(+)
(-)
RA100Z
– RA
+ RA
REMOTE ALARM LED
OPTION 1 PER UNIT
H0570-05
Note: Remove jumper when using RA100Z with the intelligent duct smoke
detector.
The RTS151/RTS151KEY Remote Test Station facilitates test of the alarm ca-
pability of the duct smoke detector. These accessories provide the stimulus to
initiate an alarm condition at the detector. The D365PL duct smoke detector
must be reset by the system control panel.
[11.1] REMOTE TEST USING SENSOR WITH REMOTE TEST CAPABILITY
If replacing the sensor head shipped with D365PL, refer to the control panel
technical documentation for compatible UL-listed heads with Remote Test Ca-
pability.
To install the RTS151/RTS151KEY, using the sensor with remote test
capability connect the device as shown in Figure 9; wire runs must be limited
to 25 ohms or less per interconnecting wire.
NOTE: Resistor assembly must be in place between RA+ and OUT+
inside the D365PL for Remote Test function to operate.
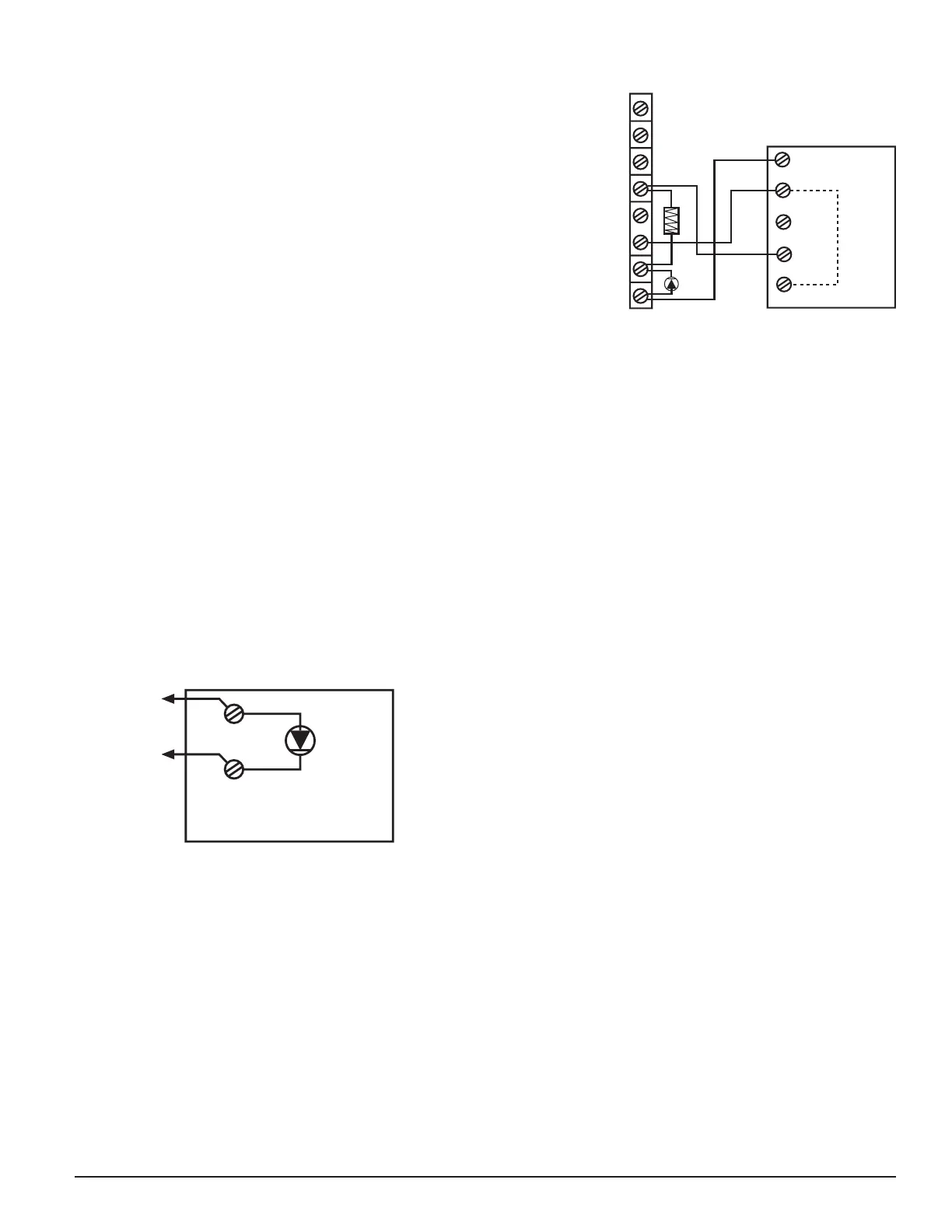
FIGURE 9. RTS151/RTS151KEY USING SENSOR WITH REMOTE TEST
CAPABILITY
RTS151/RTS151KEY
JUMPER
4
5
3
2
1
NOT USED
NOT USED
COMM +
OUT (CONV ONL
Y) +
COMM –
RA/RTS –
RA +
RTS +
H0633-02
[11.2] ADDITIONAL MODULE OPTION
The D365PL can also accommodate a relay or control module (sold sepa-
rately) within the power board side of the housing. The relay or control mod-
ule must be listed as compatible to the fire alarm control panel.
PHYSICAL MODULE MOUNTING
1. Remove the breakaway tabs at the four corners of the module.
2. Locate the module at right most corner of the power board. The upper left
corner mounting hole of the module will align with a screw boss in the
housing.
3. Install a #8×
3
8˝ Plastite screw at the screw boss location.
Note: See the corresponding module's Installation Instructions for general
description, control panel compatibility, wiring and ratings.
5 I56-6626-000
2/26/2019

Related product manuals