EasyManua.ls Logo

Honeywell MP953 Series - Page 8

Honeywell MP953 Series
24 pages
Print Icon
To Next Page IconTo Next Page
To Next Page IconTo Next Page
To Previous Page IconTo Previous Page
To Previous Page IconTo Previous Page
Loading...
IS SECURELY h4OUNTED
AND STEM
6UlTON
Is
PROPERLY LATCHED
NO
I
ADEQUATE FOR
COMPLETE
REPLACE ACTUATOR
DIAPHRAGM AND/OR
SLEEVE
S-EM MOVE
REMOVE ANY FOREIGN
MATERIAL; AND/OR
REPAIR DISC, SEAT,
AND STEM; AND/OR
REPACK VALVE
ACTUATOR IS OK.
RESTORE SYSTEM
TO SERVICE.
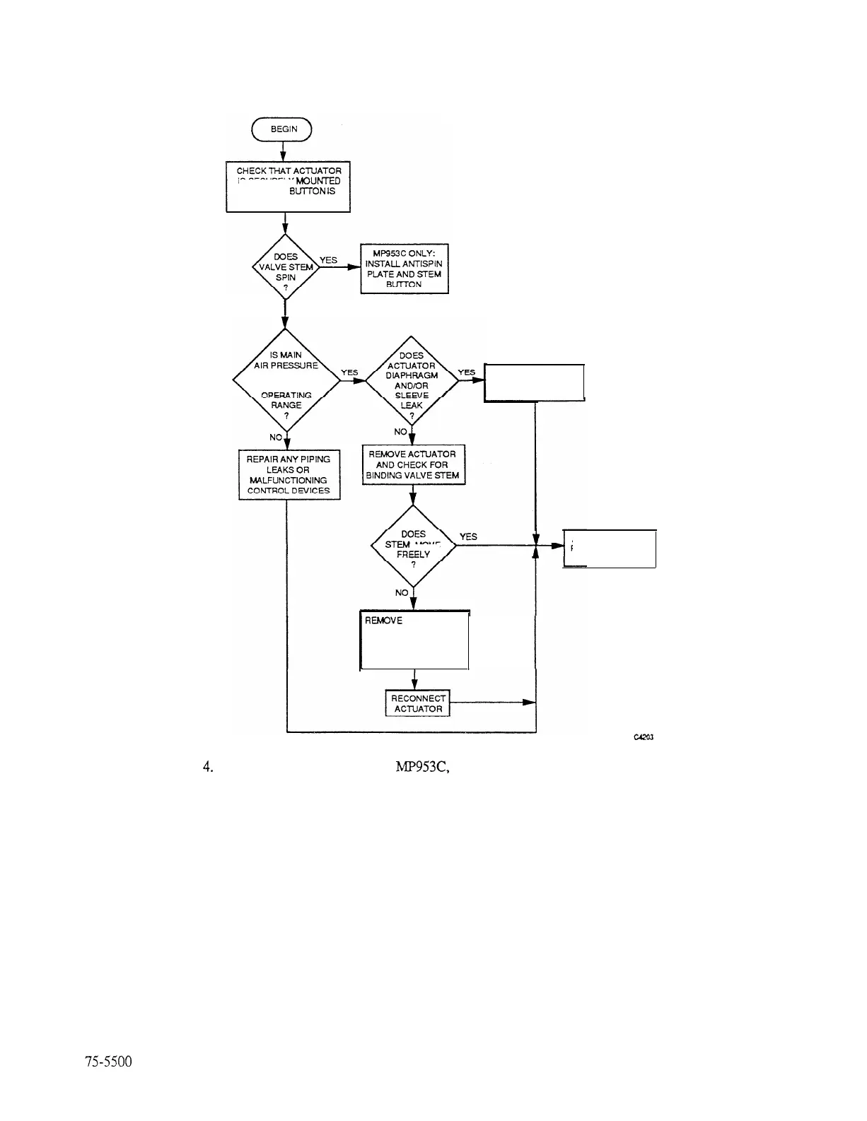
Fig.
4.
Troubleshooting Flowchart for
MP953C,
D (without Gradutrol Relay/Positioner).
75-5500

Related product manuals