EasyManua.ls Logo

Honeywell TotalZone TZ-4 - STARTUP AND CHECKOUT; Startup and Checkout Procedure; Identifying DIP Switches; Sequence of Operation

Honeywell TotalZone TZ-4
20 pages
To Next Page IconTo Next Page
To Next Page IconTo Next Page
To Previous Page IconTo Previous Page
To Previous Page IconTo Previous Page
Loading...
TZ-4 TOTALZONE® ZONE CONTROL PANEL
13 68-0259-1
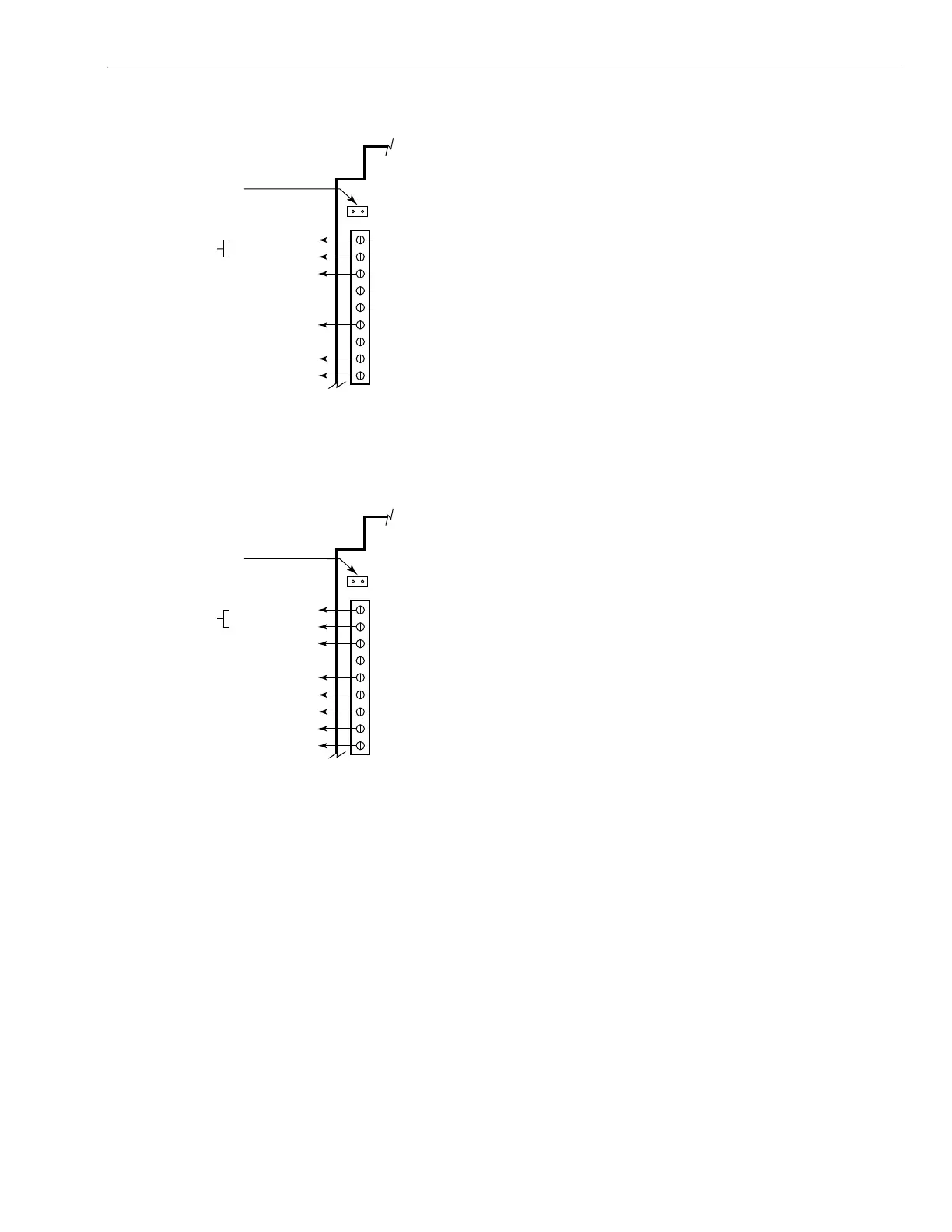
Fig. 21. Dual Fuel with single-stage heat pump and single-
stage fossil fuel.
Fig. 22. Dual fuel with two-stage heat pump and
one- or two-stage fossil fuel.
Water Source Heat Pumps
Wire the equipment, as applicable, to the TZ-4 as shown in
Fig. 17-19. Refer to manufacturer instructions for additional
wiring instructions and substitute the TZ-4 equipment
terminals for the thermostat terminals shown.
Wire first stage compressor to Y1, second stage
compressor to Y2.
Connect auxiliary heat to W3/AUX and emergency heat to
W1/E.
If auxiliary heat and emergency heat are the same, wire a
jumper from W1/E to W3/AUX.
Connect changeover relay to O/B equipment terminal.
Set DIP switch 5-7 to on for O (cool) changeover, or to off
for B (heat) changeover.
Set DIP switch 5-1 to off for heat pump equipment.
STARTUP AND CHECKOUT
After the installation is complete, verify correct operation:
1. Place the Em Heat switch in the Off (down) position.
2. Place the Zone-A-Lone switch in the Occup/Remote
(up) position.
3. Verify that DIP switches are set correctly. See
Sequence of Operation section and Table 8 for correct
configuration.
4. Power up the TZ-4 and set the thermostats so no zones
are calling. The board then enters the Purge mode
where all dampers open and the fan operates for two or
three and one-half minutes (configurable). (If there is no
Discharge Air Temperature Sensor connected to the
panel, the purge LED flashes in all modes other than
purge.) The damper LEDs are green to indicate the
dampers are open. Press Purge Override button on
panel to exit Purge mode.
5. Set zone one thermostat to heat and raise the setpoint
to call for heat. Verify that the heat LED is red and zone
one damper remains green while the other damper
LEDs turn off.
6. Raise zone two setpoint to call for heat. Lower zone one
setpoint to stop the call for heat to that zone. Verify that
zone one LED turns off and zone two LED turns green.
7. Repeat for zones three and four.
8. Alternately, lower the setpoint to call for cooling. Verify
that the green cool LED illuminates.
OPERATION
Identifying DIP Switches
This panel has two banks of DIP switches, DIP switch 4 (S4)
and DIP switch 5 (S5). Each bank has eight individual
switches that are identified by two numbers; the first number
is the bank number (4 or 5) and the second number identifies
the individual switch. For example, DIP 5-1 is bank 5,
switch 1.
Sequence of Operation
When there is no call for heat, cool or fan, the board is in
idle mode, no system LEDs are illuminated and the green
damper LEDs indicate open.
On a call for heat, cool, or fan, the calling zone damper
stays open, and other zone dampers close:
TZ-4 panel energizes the HVAC equipment and condi-
tioned air is delivered to the calling zone.
Heat LED (red), cool LED (green), or fan LED (green)
illuminates to indicate equipment operation.
Fan LED illuminates only on a call for circulation; it
does not illuminate during a call for heat or cool.
When the call is satisfied, the system enters the Purge
mode. After purge, all dampers return to the Open
position, depending on the setting of DIP switch S5-5.
Any zone thermostat can call for heating or cooling. If there
are co-existing calls for heat and cool, the panel accepts
the first call.
Once that call is satisfied, or a maximum of 20 minutes has
elapsed, the panel switches to allow the opposite call after
completing Purge mode.
M20525A
HVAC Equipment
R
H
R
C
W
1
/E
W
2
W
3
/AUX
Single Transformer Heating/Cooling
systems require a jumper to be installed
connecting R
H
and R
C
(factory installed).
Y
1
Y
2
G
O/B
Heating Transformer
24 VAC
Equip.
Cooling Transformer
First Stage Fossil Fuel
First Stage Compressor
Reversing Valve
Fan Relay
M20526A
HVAC Equipment
R
H
R
C
W
1
/E
W
2
W
3
/AUX
Single Transformer Heating/Cooling
systems require a jumper to be installed
connecting R
H
and R
C
(factory installed).
Y
1
Y
2
G
O/B
Heating Transformer
24 VAC
Equip.
Cooling Transformer
First Stage Fossil Fuel
Second Stage Fossil Fuel
First Stage Compressor
Second Stage Compressor
Reversing Valve
Fan Relay

Related product manuals