EasyManua.ls Logo

HP 6735b - Page 3

HP 6735b
34 pages
Print Icon
To Next Page IconTo Next Page
To Next Page IconTo Next Page
To Previous Page IconTo Previous Page
To Previous Page IconTo Previous Page
Loading...
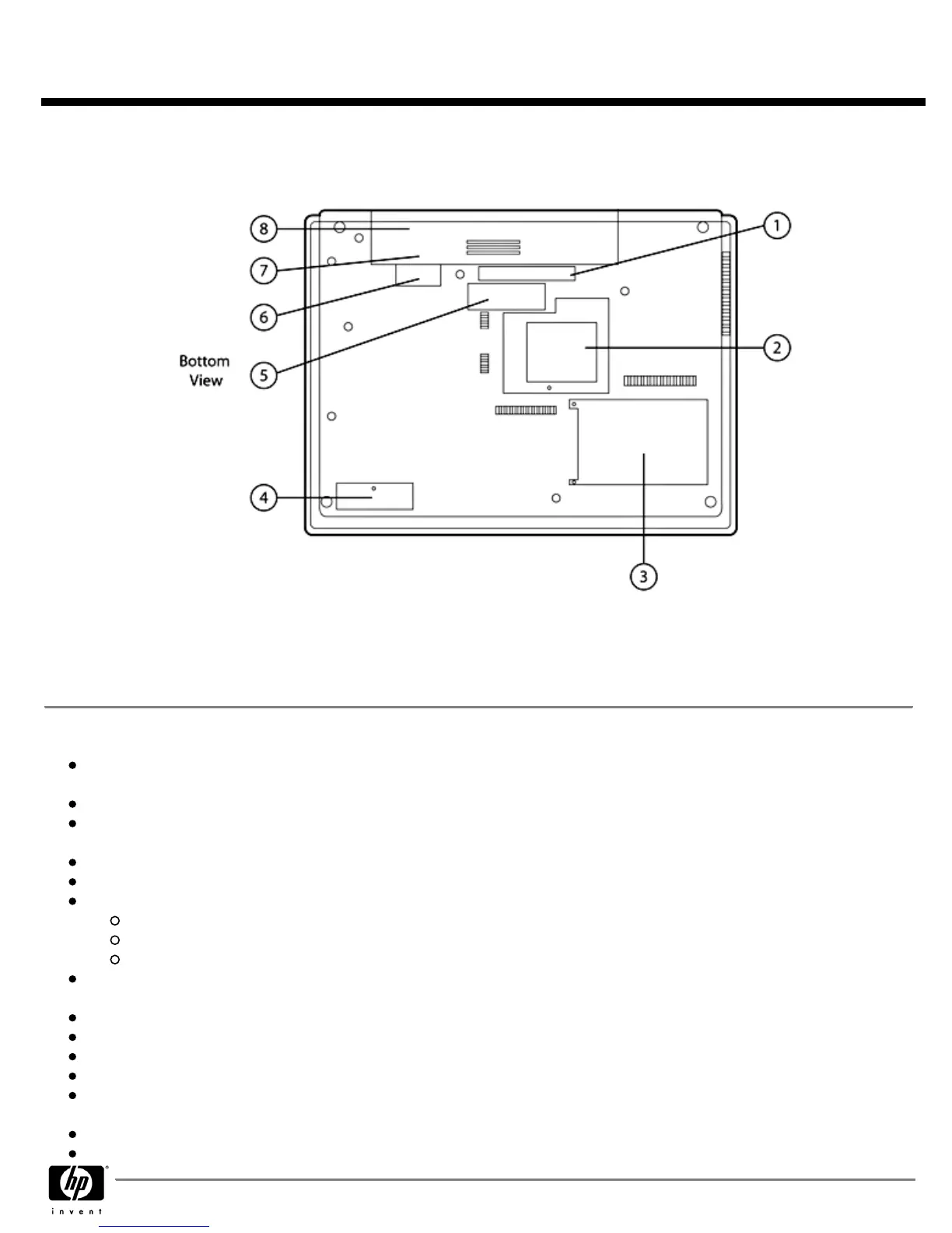
1.
Docking connector
5
Secondary battery connector
2.
WLAN module compartment (select models)
6.
SIM slot for WWAN (select models) – inside battery bay
3.
Hard drive bay
7.
Battery release latch
4.
Bluetooth module compartment
8.
Battery bay
At A Glance
At A GlanceAt A Glance
At A Glance
Genuine Windows Vista Business 32, Genuine Windows Vista Home Basic 32, Genuine Windows Vista Business with
downgrade to Windows XP Professional custom installed, or FreeDOS
Widescreen 15.4-inch diagonal display with wide-viewing angle, optional BrightView and HP Privacy Filter support
AMD Turion™ X2 Ultra Dual-Core Mobile Processor, AMD Turion™ X2 Dual-Core Mobile Processor, AMD Athlon™ X2 Dual-
Core Processor
Thin, lightweight design starting at 5.93 lb/2.69 kg and 1.32 inch/33.6 mm thin at front
Upgrade Bay for easy optical drive upgrade or optional second hard drive
Flexible wireless connectivity options:
Integrated HP un2400 EV-DO/HSPA Mobile Broadband Module provides worldwide Gobi mobile Internet technology
Integrated 802.11 a/b/g/n draft 2.0 or b/g wireless LAN module
Bluetooth®
Enhanced security features including HP ProtectTools, HP SpareKey, TPM 1.2;
*
optional Smart Card Reader and HP
Fingerprint Sensor
Optional integrated VGA webcam with dual-microphone array
HP QuickLook 2 for instant access to e-mail, calendar, and contact information
Up to 250 GB 5400 rpm or 160 GB 7200 rpm user-removable hard drive with HP 3D DriveGuard protection
Enhanced reliability with magnesium alloy support structure and HP DuraFinish
Touch-sensitive controls for HP Info Center / HP QuickLook, HP Presentation button, wireless on/off, mute, and volume up,
volume down
Media Card Reader
Up to 8 GB of 800 MHz DDR2 SDRAM supported, dual-channel memory support
QuickSpecs
HP Compaq 6735b Notebook PC
HP Compaq 6735b Notebook PCHP Compaq 6735b Notebook PC
HP Compaq 6735b Notebook PC
Overview
DA - 13055 North America — Version 3 — August 22, 2008
Page 3

Related product manuals