EasyManua.ls Logo

HP LaserJet 6P - Page 185

HP LaserJet 6P
214 pages
To Next Page IconTo Next Page
To Next Page IconTo Next Page
To Previous Page IconTo Previous Page
To Previous Page IconTo Previous Page
Loading...
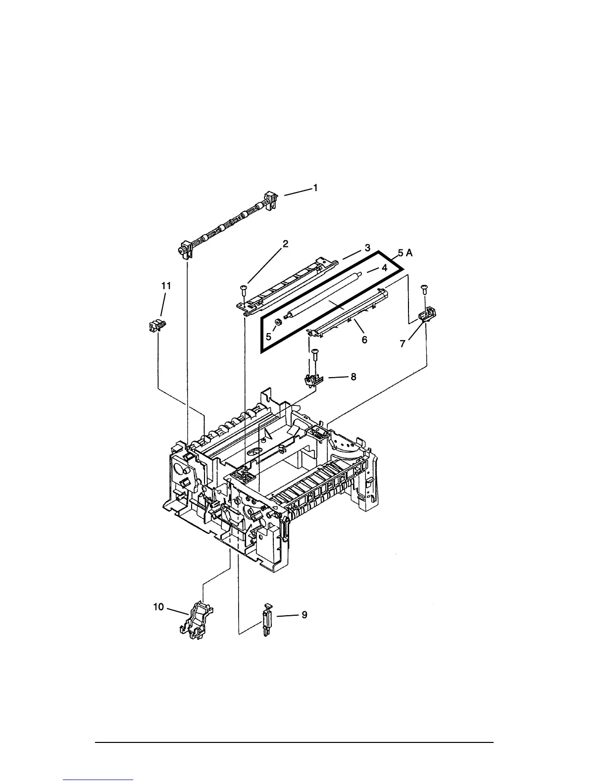
Figure 34. HP LaserJet 5P/6P Internal Components (2)
HP LaserJet 5P/5MP, 6P/6MP Printer Service Supplement
Parts and Diagrams
82

Related product manuals