EasyManua.ls Logo

HP LJ 1100

HP LJ 1100
320 pages
To Next Page IconTo Next Page
To Next Page IconTo Next Page
To Previous Page IconTo Previous Page
To Previous Page IconTo Previous Page
Loading...
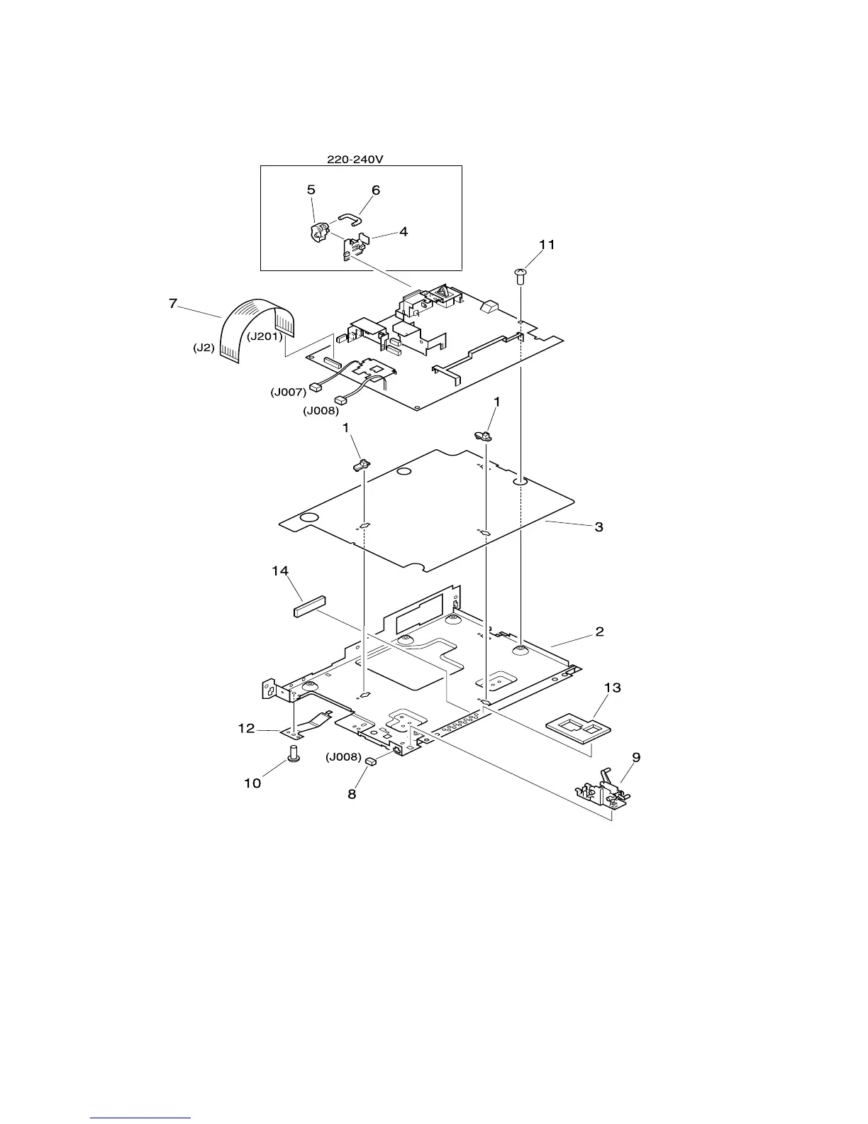
228 Chapter 8 Printer parts EN
Major assemblies (continued)
Figure 24 Major assembly locations (3200 series)

Related product manuals