EasyManua.ls Logo

IBM ThinkPad 701 Series - Page 450

IBM ThinkPad 701 Series
508 pages
Print Icon
To Next Page IconTo Next Page
To Next Page IconTo Next Page
To Previous Page IconTo Previous Page
To Previous Page IconTo Previous Page
Loading...
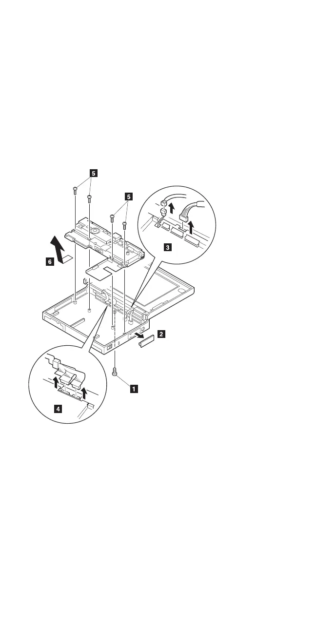
1115 Logic Assembly
Battery Pack (1020)
Diskette Drive (1030)
Hard Disk Drive (1040)
Keyboard Unit (1080)
Status Indicator (1090)
Standby Battery and Front IR (1100)
The screw▌1▐ is located at the rear bottom side.
See next page.
440 IBM Mobile Systems HMM

Table of Contents

Related product manuals