EasyManua.ls Logo

Inovance MD500T75G - Page 229

Inovance MD500T75G
322 pages
To Next Page IconTo Next Page
To Next Page IconTo Next Page
To Previous Page IconTo Previous Page
To Previous Page IconTo Previous Page
Loading...
MD500 User Manual 8. Interfaces and Communication

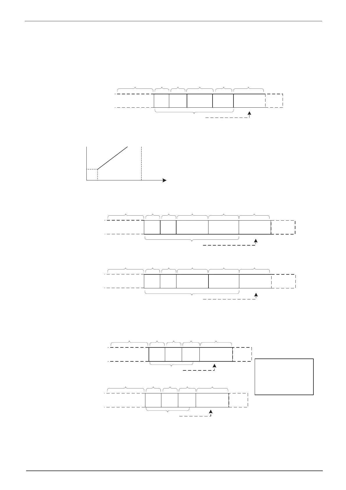
8.5.3 Data Format
The MD500 supports reading and writing of word-type parameters only. The reading command is 0x03 and the writing command is
0x06. It does not support reading and writing of bytes or bits.
The Modbu-RTU protocol communication data format of the MD500 is as follows:
Slave
addr.
Function
code
H----L
Number of
function
codes (n)
CRC and
H----L
Idle
Frame of read
command from
the master
Idle (frame header)
1 byte 1 byte 2 byte 1 byte
2 byte> 3.5 byte
Calculate CRC
Read
command
0x03
In theory, the host computer can read several consecutive parameters (n can reach up to 12) but the last parameter it reads must
QRWMXPSWRWKHQH[WSDUDPWHUJURXS2WKHUZLVHDQHUURURFFXUVRQWKHUHVSRQVH
AI
20.
0.00
2.
00
10.
00
F4-18
0.0
F4-20
F4-
0%
VmA VmA
Slave
addr.
Parameter addr.
H----L
Function code
H----L
CRC and
H----L
Idle
Frame of writing
command from the
master
Idle (frame header)
1 byte 1 byte 2 byte 2 byte> 3.5 byte
2 byte
Calculate CRC
Write
command
0x06
Slave
addr.
Parameter addr.
H----L
Function code
H----L
CRC and
H----L
Idle
Frame of writing
response from the
master
Idle
1 byte 1 byte 2 byte 2 byte> 3.5 byte 2 byte
Calculate CRC
Write
command
0x06
,IWKHVODYHGHWHFWVDFRPPXQLFDWLRQIUDPHHUURURUWKHUHDGLQJZULWLQJIDLOXUHLVFDXVHGE\RWKHUUHDVRQVDQHUURUIUDPHZLOOEH
returned as follows:
Slave
addr.
0x83
Error
type
CRC and
H----L
Idle
Frame of reading response
error from the slave
Idle (frame header)
1 byte 1 byte 1 byte 2 byte> 3.5 byte
Calculate CRC
Slave
addr.
0x86
Error
type
CRC and
H----L
Idle
Frame of writing response
error from the slave
Idle (frame header)
1 byte 1 byte 1 byte 2 byte> 3.5 byte
Calculate CRC
Error type:
01: Command code error
02: Address error
03: Data error
04: Command cannot be handled
efesotomasyon.com

Table of Contents

Related product manuals