EasyManua.ls Logo

INVENTOR PR1-ION21L - Page 22

INVENTOR PR1-ION21L
44 pages
Print Icon
To Next Page IconTo Next Page
To Next Page IconTo Next Page
To Previous Page IconTo Previous Page
To Previous Page IconTo Previous Page
Loading...
Fig.1
Timer / Ein/Aus
Anzeigeleuchte
Wasserbehälter voll
Anzeigeleuchte
Dauerbetrieb
Ein/Anzeigeleuchte
Trocknerbetrieb Ein
Anzeigeleuchte
Smart-Entfeuchtungsbetrieb
Ein/Anzeigeleuchte
Power
Anzeige
Ion-Betrieb Ein
Anzeigeleuchte
Hohe Lüfterbetrieb
Anzeigeleuchte
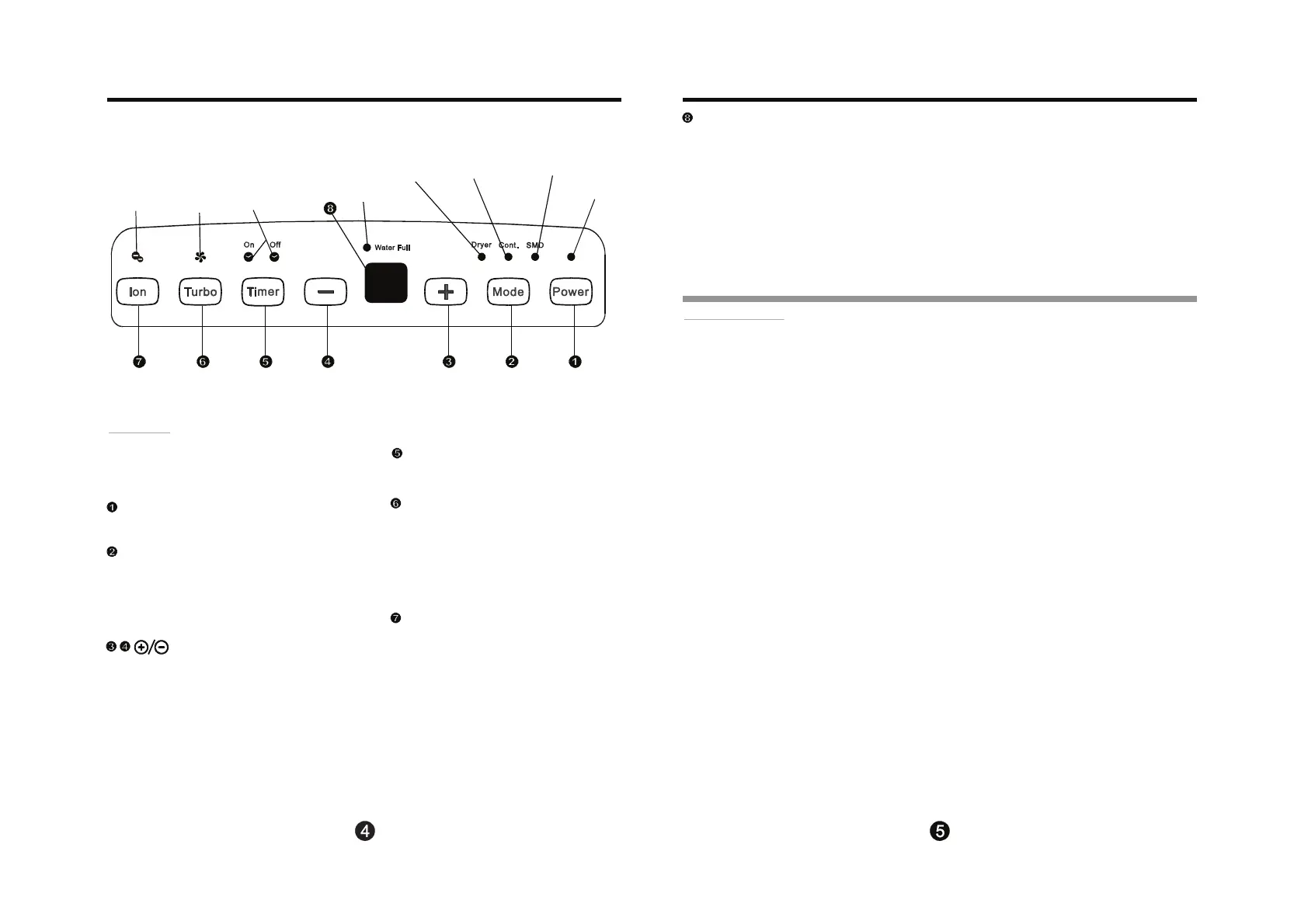
BEDIENTASTEN DES ENTFEUCHTERS BEDIENTASTEN DES ENTFEUCHTERS
Bedientasten
ANMERKUNG: Das Bedienfeld des Geräts, das Sie gekauft haben, kann leicht je nach den Modellen
abweichen.
Wenn Sie die Taste drücken, um die Betriebsarten zu
ändern, wird das Gerät ein Piepton ausgeben, um
anzuzeigen, dass es den Betriebs-Modus wechselt.
• Feuchtigkeitseinstellung - Bedientasten
: Unten/Auf-Tasten
• TIMER-Einstellung Bedientasten
Verwenden Sie die oben/unten-Tasten um die Auto-Start und
Auto-Stop-Zeit zwischen 0.0 und 24 einzustellen.
Der Feuchtigkeitsgrad kann im Bereich zwischen 35% RH
(Relative Feuchte RF) und 85% RH (Relative Feuchte RF) in
5% Schritten eingestellt werden.
Für trockenere Luft: Taste ( - ) drücken und einen geringeren
Prozentwert (%) auswählen.
Für eine feuchtere Luft: Taste ( + ) drücken und einen höheren
Prozentwert (%) auswählen.
Weitere Merkmale
Behälter voll Anzeige
Leuchtet, wenn der Wasserbehälter entleert werden muss
oder wenn der Behälter entfernt wird oder wenn er nicht in
der richtigen Position wiedereingesetzt wird.
Automatische Abschaltung
Der Entfeuchter wird automatisch ausgeschaltet, wenn der
Wasserbehälter voll ist, oder wenn der Behälter entfernt
wurde oder wenn er nicht in der richtigen Position
wiedereingesetzt wurde. Wenn die vorgewählte
Luftfeuchtigkeit erreicht ist, wird das Gerät automatisch
abgeschaltet. Bei einigen Modellen wird auch dann der
Ventilatormotor weiterhin arbeiten.
Automatisches Abtauen
Wenn sich Frost an den Entfeuchtungsspulen gebildet hat,
schaltet der Kompressor ab und der Ventilator läuft weiter,
bis der Frost abgetaut ist.
HINWEIS: Beim automatischen Abtauvorgang könnte vom
Gerät ein Geräusch vom Kältemittelfluß kommen, was
normal ist.
Vor neuerlicher Inbetriebnahme 3 Minuten warten
Wenn das Gerät ausgeschaltet hat, kann es in den ersten
3 Minuten nicht wieder in Betrieb gesetzt werden. Dies
dient zum Schutz des Geräts. Das Gerät startet nach 3
Minuten automatisch.
Der Intelligente Entfeuchtungs-Modus (optional)
Beim intelligenten Entfeuchtungsmodus, kontrolliert das
Gerät automatisch die Raumluftfeuchtigkeit bei einem
angenehmen Bereich zwischen 45% und 55% je nach
Raumtemperatur. Die Feuchtigkeitseinstellungsfunktion
wird somit ungültig.
Automatischer Neustart
Wenn das Gerät unerwartet durch eine
Stromunterbrechung
abbricht, startet das Gerät neu mit der vorgewählten
Einstellung, sobald die Stromversorgung wieder
aufrecht ist.
Einstellen des Timers
• Wenn das Gerät eingeschaltet ist, drücken Sie die
TIMERTaste, der TIMER OFF-Leuchtmelder geht an.
Es zeigt an, dass das automatische Abschaltprogramm
gestartet wird. Beim erneuten Drücken leuchtet der Time
On Leuchtmelder auf. Es zeigt an, dass das automatische
Einschaltprogramm gestartet wird.
• Wenn das Gerät ausgeschaltet ist, drücken Sie zuerst
die TimerTaste. Der TIMER ON-Leuchtmelder leuchte
auf. Es zeigt an, dass das automatische Einschaltprogramm
gestartet wird. Beim erneuten Drücken leuchtet der Time
Off Leuchtmelder auf. Es zeigt an, dass das automatische
Ausschaltprogramm gestartet wird.
• Drücken Sie oder halten Sie die UP oder DOWNTaste
gedrückt, um die AutoZeit zu verstellen,
um jeweils 0,5 Stunden für die ersten 10 Stunden, dann in
Intervallen von 1 Stunde bis 24 Stunden. Auf der Anzeige
wird die verbleibende Zeit bis zum Autostart angezeigt.
• Die gewählte Zeit wird in 5 Sekunden registriert und das
System wird automatisch wieder zurückgestellt um die
vorherige Luftfeuchtigkeits-Einstellung anzuzeigen.
• Wenn die Autostart und Autostoppzeiten eingestellt sind,
innerhalb des gleichen Programmablaufs, beleuchten die
TIMERON OFF-Leuchtmelder um anzuzeigen, dass nun
sowohl Ein- und Ausschaltzeiten programmiert sind.
• Wenn Sie das Gerät zu irgendeinem Zeitpunkt ein- oder
ausschalten oder wenn die Timer-Einstellung auf 0.0
gesetzt wird, so wird die Auto-Start/Stop-Funktion beendet.
• Wenn das LED-Anzeigefenster den Code P2 zeigt, wird
dann die Auto Start/Stop-Funktion auch beendet.
Anzeige
Zeigt den eingestellten % Feuchtigkeitsgrad zwischen 35%
und 85% oder die Auto-Start / Stopp-Zeit (0-24), während
der Einstellung, dann zeigt den tatsächlichen (plus/minus
5% Genauigkeit) Feuchtigkeitsgrad % im Raum in einem
Bereich zwischen 30% RH (Relative Feuchte RF) und
90% RH (Relative Feuchte RF).
Fehlercodes und Schutzcodes:
AS- Fehler beim Feuchtesensor - Stecken Sie das Gerät
aus und wieder ein. Wenn der Fehler weiterhin auftritt,
rufen Sie bitte den Kundendienst.
ES- Fehler beim Temperatursensor. Stecken Sie das
Gerät aus und wieder ein. Wenn der Fehler weiterhin
auftritt, rufen Sie bitte den Kundendienst.
P1- Das Gerät ist beim Abtauen - Lassen Sie dem Gerät
Zeit um automatisch abzutauen. Der Schutz wird aufgehoben,
sobald das Gerät sich selbst abgetaut hat.
P2- Der Wasserbehälter ist voll oder nicht in der richtigen
Position - Leeren Sie den Behälter und setzen Sie ihn
korrekt wieder
ein. (Nur für das Gerät ohne Pumpe-Funktion verfügbar.)
E3- Fehlfunktion beim Gerät Stecken Sie das Gerät aus
und wieder ein. Wenn der Fehler weiterhin auftritt, rufen
Sie bitte den Kundendienst.
EC- Kältemittelleckerkennung - Mit dieser neuen Technologie,
zeigt der "EG"-Anzeigebereich, wenn das Gerät ein
Kältemittelleck erkennt. In einem solchen Fall sollten Sie den
Kundendienst anrufen.
5 Timer-Taste
Power-Taste
Drücken Sie, um den Entfeuchter ein- und ausgeschalten.
Drücken Sie um die Auto-Start und Auto-Stop
Funktion in Verbindung mit den - und + Tasten-
feldern zu initiieren.
Modus-Taste
Drücken Sie, um die gewünschte Betriebsart zwischen
Entfeuchten, Trocknen, kontinuierliche Entfeuchtung und
Smart-Entfeuchten auszuwählen.
HINWEIS: Die Trocknen und Smart-Entfeuchten Modi
sind optional. Drücken Sie um den Pumpenbetrieb zu
aktivieren.
6 Turbo-Taste
Ion-Taste
Drücken Sie um den Ionisator zu aktivieren. Anionen
werden automatisch durch Ionisation generiert.
Die Anionen neutralisieren die in der Luft befindliche
chemische Dämpfe und Staubpartikel. Drücken Sie
erneut, um die Funktion zu stoppen.
Kontrolle der Ventilator-Geschwindigkeit. Drücken
Sie, um zwischen Hohe und Normale Ventilator-
geschwindigkeit zu wählen. Stellen Sie die
Ventilatorkontrolle auf ''Hoch'' für eine maximale
Entfernung der Feuchtigkeit ein. Wenn die
Feuchtigkeit reduziert wurde und geräuscharmer
Betrieb bevorzugt wird, stellen Sie die
Ventilatorkontrolle auf Normal ein.

Related product manuals