EasyManua.ls Logo

INVENTOR PR1-ION21L - Page 34

INVENTOR PR1-ION21L
44 pages
Print Icon
To Next Page IconTo Next Page
To Next Page IconTo Next Page
To Previous Page IconTo Previous Page
To Previous Page IconTo Previous Page
Loading...
Fig.1
Spia power on
Spia deumidificazione
intelligente
Spia funzionamento
continu
Modalità Dryer
Spia tanica
piena
Timer on/off
Ventilatore
velocità alta
Modalità Ion.
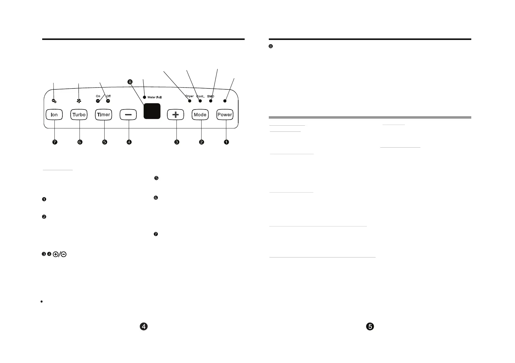
TASTI DI CONTROLLO SUL DEUMIDIFICATORE TASTI DI CONTROLLO SUL DEUMIDIFICATORE
Tasti di controllo
Premendo un tasto per cambiare modalità di
funzionamento, l'unità emmeterà un segnale
acustico per indicare che sta cambiando modalità.
• Gruppo di tasti per la impostazione dell’ umidità
: Tasti up / down
Tasto TIMER
Utilizzare i tasti UP / DOWN per impostare l'avvio
automatico o l’ arresto automatico da 0.0-24 ore.
Il livello di umidità può essere impostato in una gamma
dal 35% RH (umidità relativa) fino al 85% di umidità
relativa (umidità relativa) in incrementi del 5%.
Per un’ atmosfera più secca premere il tasto «-» e
impostare un minore valore percentuale (%).
Per un’ atmosfera più umida premere il tasto «+» e
impostare un maggiore valore percentuale (%).
Altre caratteristiche
Spia Tanica Piena
Auto-Restart
Impostazione del timer
Spegnimento Automatico
Sbrinamento Automatico
Attendere 3 minuti prima di riprendere il funzionamento
La modalità Smart (Intelligente) deumidificazione (opzionale)
Si illumina quando la tanica deve essere svuotata,
o quando é rimossa e non rimessa in posizione corretta.
Quando sulle batterie evaporanti si accumula gelo, il
compressore starà spento e il ventilatore continuerà
a funzionare fino a quando il gelo scompara.
NOTA: Quando l’ apparecchio funziona in modalità
di sbrinamento automatico l' unità può emmettere un
rumore di refrigerante che scorre. É normale.
Dopo che l’ unità sia spenta, per la sua protezione, devono
passare 3 minuti prima che essa cominci di funzionare di
nuovo. Il funzionamento si avvierà automaticamente dopo
3 minuti.
Display
Indica il livello % di umidità impostato da 35% fino a
85% o Auto Start / Step (tempo di passo) (0-24)
durante l'impostazione, poi indica il livello % attuale
(+ 5% di precisione) dell’ umidità dell’ ambiente in una
gamma da 30% RH (Relative Humidity) fino a 90% RH
(Relative Humidity).
Codici di errore e Codici di protezione :
AS- Errore del sensore della modalità di umidità -
Scollegare l'unità e ricollegarla. Se l’ indicazione
«ERROR» si ripete, chiamare l'assistenza tecnica.
ES- Errore del sensore della temperatura del tubo -
Scollegare l'unità e ricollegarla. Se l’ indicazione
«ERROR» si ripete, chiamare l'assistenza tecnica.
P1- L’ unità sta disgelando. Lasciare passare il tempo
necessario per lo sbrinamento automatico. La protezione
sarà smessa dopo lo sbrinamento
P2- Tanica piena o non posizionata correttamente.
Svuotare la tanica e posizionare correttamente.
E3- Malfunzionamento dell’ unità. Scollegarla e ricollegarla.
Se l’ indicazione ERROR persiste, chiamare l'assistenza
tecnica.
EC Identificazione di perdite di refrigerante. Con questa
nuova tecnologia, il display visualizzerà «EC» se ci sono
perdite di refrigerante. Chiamare l'assistenza tecnica.
Tasto Timer
L'interruttore di controllo del livello dell'acqua spegne il
deumidificatore quando la tanica é piena o quando é
rimossa e non rimessa in posizione corretta.
Quando l'umidità impostata viene raggiunta, l'unità si
spegne automaticamente.
Se l’ unità si ferma improvvisamente a funzionare a
causa di un «black out» elettrico, al ripristino della
corrente elettrica, riparte di nuovo con le ultime
impostazioni memorizzate.
• Quando l'unità é accesa, premere il tasto Timer.
La spia TIMER OFF s’ illumina indicando che é iniziata
la modalità AUTO STOP (AUTO ARRESTO) Premere
di nuovo e la spia TIMER ON s’ illumina indicando che
é iniziata la modalità AUTO START (TIMER ON)
• Quando l'unità é spenta premere il tasto Timer. La spia
TIMER ON s’ illumina indicando che é iniziata la modalità
AUTO START (TIMER ON). Premere di nuovo e la spia
TIMER OFF s’ illumina indicando che é iniziata la modalità
AUTO STOP (AUTO ARRESTO).
• Premere o tenere premuto il tasto UP o DOWN per
modificare il tempo Auto in incrementi di 0,5 ore, fino a
10 ore, poi a incrementi di 1 ora fino a 24 ore. Il controllo
misura il tempo alla rovescia fino che l’ apparecchio inizia
a funzionare.
• Il tempo selezionato si visualizza per 5 secondi e poi il
sistema torna automaticamente ad indicare la precedente
impostazione di umidità.
• Premendo ON o OFF in qualsiasi momento, o regolando
l'impostazione del timer a 0.0 la funzione Auto Start o Auto
Stop si annullerà.
• Quando il LED display visualizza il codice P2, le modalità
Auto Start o Auto Stop vengono anche esse annullate.
Tasto Power
Premere per accendere o spendere il deumidificatore.
Premere per avviare la funzione di avvio e arresto
automatico in combinazione con i tasti «+» e «-»
Tasto Modalità
Premere per selezionare la modalità di funzionamento
desiderata: Deumidificazione, Dryer (Essiccatore),
deumidificazione continua e deumidificazione intelligente.
Nota: Le modalità Dryer e Deumidificazione Intelligente
sono opzionali.
Tasto Turbo
Ion Tasto (opzionale)
Premere per attivare l’ ionizzatore. Gli anioni disattivano
i vapori chimici atmosferici e le particelle di polvere.
Premere il tasto di nuovo per interrompere la funzione.
Controllare la velocità del ventilatore. Premere per
selezionare High (Alta) o Law (Bassa) velocità.
Impostare il controllo su High per la massima
rimozione di umidità. Quando l'umidità é stata ridotta
e si preferisce un funzionamento silenzioso impostare
il controllo del ventilatore su Normale.
Alla modalità «smart dehumidifying», l’ unità automaticament
controlla l 'umidità della stanza in una gamma di benessere
da 45% ~ 55% in base alla temperatura dell’ ambiente.
In questo caso non si può impostare la umidità.

Related product manuals