EasyManua.ls Logo

INVENTOR PR1-ION21L - Page 40

INVENTOR PR1-ION21L
44 pages
Print Icon
To Next Page IconTo Next Page
To Next Page IconTo Next Page
To Previous Page IconTo Previous Page
To Previous Page IconTo Previous Page
Loading...
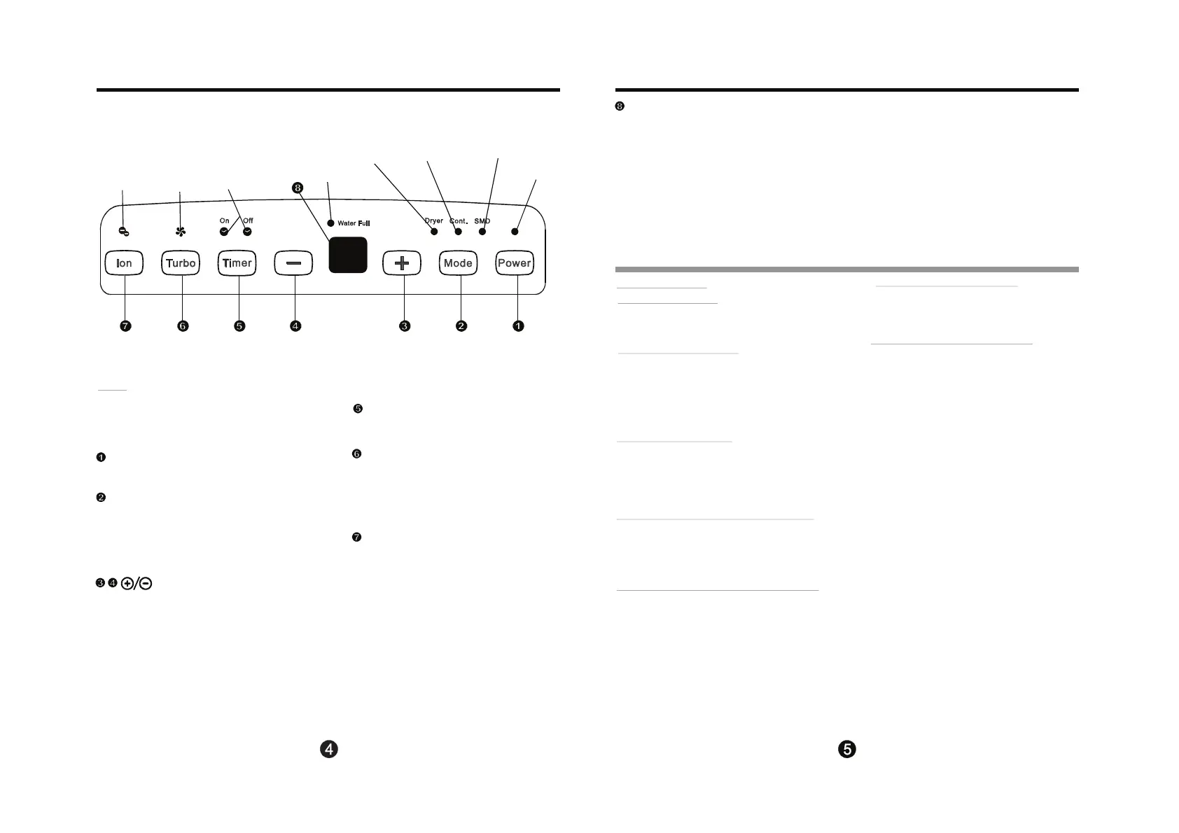
Fig.1
Temporizador
Encendido/Apagado
Indicador
de ventilador alta
Indicador
de cubeta lleris
Indicador
de secador
Indicador
de funcionamento
Indicador
de deshumidification
Funcionamento
de la unidad
Indicador Ion
CONTROL DE PANEL CONTROL DE PANEL
Teclas
NOTA: El panel de control de la unidad que ha adquirido puede ser ligeramente diferente según
los modelos.
Cuando pulse la tecla para cambiar los modos de
operación la unidad hará un pitido para indicar
que los modos están cambiando.
• Teclas humidity set control
: Teclas de aumento y disminución
• Tecla Timer Set Control
Utilice las teclas Arriba/Abajo para establecer el inicio automático
(Auto Start) y el paro automático (Auto Stop) de 0,0 al 24.
La humedad deseada puede seleccionarse en un rango del
35% al 85% de humedad relativa, en incrementos del 5%.
Para el aire más seco, presione la tecla y establecer un menor
valor del porcentaje (%). Para el amortiguador de aire, pulse
la tecla y establecer mayor valor del porcentaje (%).
Otras características
Indicador BUCKET FULL
Reinicio Automático (Auto-Restart )
Configuración del Temporizador (Timer)
Auto Apagado (Auto Shut-Off)
Descongelación Automática
Espere 3 minutos antes de reanudar la operación
Modo de deshumidificación inteligente (opcional).
Este piloto se ilumina cuando la cubeta está llena y es
necesario vaciarla.También se ilumina cuando la cubeta
no está colocada correctamente.
Cuando la escarcha se acumula en los serpentines de
evaporador, el compresor se apagará y el ventilador
continuará funcionando hasta que la escharcha desaparece.
Nota: En la función de descongelación automático, la unidad
puede emitir un sonido de refrigerante que fluye, algo que
es normal.
Después de que la unidad se haya detenido, no puede ser
reiniciado en los primeros 3 minutos. Su propósito es proteger
la unidad. La operación se iniciará automáticamente después
de 3 minutos.
Visualización
Muestra el nivel de humedad deseado% del 35% al 85%
u la hora del inicio automático o paro automático (0 ~ 24)
aunque se establece luego , muestra el nivel actual
(con una precisión del 5%) de la humanidad en la habitación
en un rango de 30% HR (Humedad Relativa) al 90% de
HR (humedad relativa).
Códigos de error y Protección
AS-Error en el sensor de humedad - Desenchufe la unidad
y vuelva a conectarla. Si el error se repite, llame al servicio
técnico.
ES Error en el sensor de temperatura - desenchufe la unidad
y vuelva a enchufarlo -
Si el error se repite, llame al servicio técnico.
P1 La Unidad se descongela - Dé tiempo a la unidad de
descongelar de forma automática. La protección quedará
borrada tras la unidad se descongela automáticamente.
P2- La cubeta está llena o la cubeta no está en la posición
correcta -- vaciar la cubeta y vuelva a colocarla en la posición
correcta.
E3 Fallo de la unidad -- desenchufe la unidad y vuelva a
enchufarlo. Si el error se repite, llame al servicio técnico.
EC- Detección de fugas de refrigerante, con esta nueva
tecnología, la zona de la pantalla aparecerá CE cuando la
unidad detecta fugas de refrigerante, llame al servicio.
Tecla Timer (Temporizador)
El deshumidificador se apagará automáticamente cuando
la cubeta esté llena, cuando se retire la cubeta o no se
coloque en la posición correcta. Cuando el ajuste de
humedad es alcanzado, la unidad se apagará auto-
máticamente. En algunos modelos, el motor del ventilador
seguirá funcionando.
Si la unidad se apaga inesperadamente debido a
interrupción de corriente eléctrica, se reiniciará
automáticamente con el ajuste de función anterior
cuando vuelva la energía eléctrica.
• Cuando la unidad está encendida, pulse primero la tecla
de temporizador, la luz del indicador del temporizador
desactivado (timer Off) se iluminará. Indica que el programa
de paro automático (Auto Stop) se inicia Pulse de nuevo,
la luz del indicador del temporizaror se ilumina. Indica que
el inicio automático (auto start) se inicia.
• Cuando la unidad está apagada, pulse primero la tecla
de temporizador, la luz del indicador del temporizador
activado (timer On) se iluminará. Indica que el programa
de inicio automático (Auto Start ) se inicia. Pulse de nuevo,
la luz del indicador del temporizador se iluminará. Indica que
el paro automático (auto stop ) se inicia.
• Pulse o mantenga la tecla arriba o +/- para cambiar el
tiempo automático por 0,5 horas de incrementos, hasta 10
horas y, a continuación, por 1 hora de incrementos hasta 24
horas. El control ira contando hacia atrás el tiempo restante
hasta el inicio.
• El tiempo seleccionado registrará en 5 segundos y el sistema
volverá automáticamente para mostrar el ajuste de humedad
anterior.
• Cuando el tiempo de inicio automático (Auto Start) y el
tiempo de paro automático (Auto Stop) están determinados
dentro de la misma secuencia de programa, las luces del
indicador del Temporizador/ activado/desactivado se iluminan
identificando que ambos los tiempos On/Off son ahora programados.
• Encender o apagar la unidad en cualquier momento o ajustar el
temporizador a 0.0 cancelará la función de inicio automático/paro
automático (Auto Start/Stop).
• Cuando la pantalla LED muestra el código P2, la función de
inicio automático /paro automático ( Auto Start/Stop) también
será cancelada.
Tecla Power
Pulse este botón para encender/apagar el deshumidificador
Pulse para iniciar la función del inicio automático
y paro automático en combinación con las
teclas + y – .
Tecla de modo
Pulse para seleccionar el modo de funcionamiento deseado
del deshumidificador, Secadora, deshumidificación
deshumidificación continua y deshumidificación inteligente.
NOTA: Los modos secadora y deshumidificación inteligente
están opcional.
Tecla Turbo
Tecla Ion (opcional)
Pulse para activar el ionizador. Los aniones son
automáticamente generados por ionización. Los
aniones desactivan los vapores químicos aéreas
y las partículas de polvo. Pulse de nuevo para
detener la función.
Controlar la velocidad del ventilador. Presione para
seleccionar ya sea velocidad del ventilador alta o
normal. Ajuste el control del ventilador (fan control)
en alta para máxima eliminación de la humedad.
Cuando la humedad se ha eliminado y una operación
silenciosa es preferida, ajuste el control del ventilador
en Normal.
En el modo de deshumidificación inteligente, la unidad
controlará automáticamente la humedad de la habitación
en un rango cómodo de 45%~55% según la temperatura
ambiente. El ajuste de humedad será inválido.

Related product manuals