EasyManua.ls Logo

Jackery Explorer 3000 Pro - Page 18

Jackery Explorer 3000 Pro
24 pages
Print Icon
To Next Page IconTo Next Page
To Next Page IconTo Next Page
To Previous Page IconTo Previous Page
To Previous Page IconTo Previous Page
Loading...
17
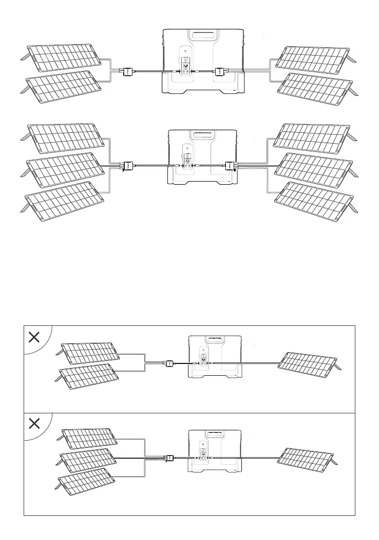
Precaución: Cuando las dos entradas se utilizan al mismo tiempo, asegúrese de utilizar el mismo tipo
de panel solar. Además, el número de paneles solares en las dos entradas debe ser el mismo para
evitar daños o problemas de carga del equipo debido a tensiones inconsistentes de los dos canales.
SolarSaga×3 SolarSaga ×3
Explorer 3000 Pro
Las siguientes formas de conexión están prohibidas para cargar este producto:
SolarSaga×3 SolarSaga×1Explorer 3000 Pro
SolarSaga×2 SolarSaga×1Explorer 3000 Pro
SolarSaga×2
SolarSaga×2Explorer 3000 Pro

Related product manuals