EasyManua.ls Logo

Jayco 2015 MELBOURNE - Page 84

Jayco 2015 MELBOURNE
121 pages
Print Icon
To Next Page IconTo Next Page
To Next Page IconTo Next Page
To Previous Page IconTo Previous Page
To Previous Page IconTo Previous Page
Loading...
SECTION 8 – PLUMBING SYSTEM CLASS C MOTORHOME
8-6
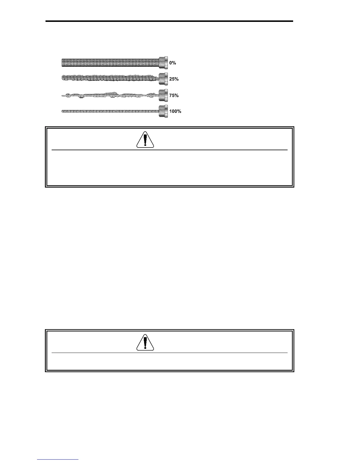
If an anode rod is mostly eaten away, replace it with a new one. The water heater
manufacturer recommends replacement of the anode rod when consumption or
weight loss is greater than 75 percent.
Fig. 8.2 Anode rod
replacement chart
Operating the water heater without the proper anode rod protection will decrease
tank life and will void the tank manufacturer’s warranty on the tank. To extend the
anode life, drain the water from the water heater tank whenever the motor home is
not being used. Avoid any extended time of non-use with water in the tank.
To prevent a water leak when replacing the anode rod, a pipe thread sealant
approved for potable water (such as Teflon Tape) must be applied to the threads
of the anode rod. Proper application of a thread sealant will not interfere with the
anode’s function.
Pressure & temperature relief valve
The temperature and pressure relief valve is designed to open if the temperature
of the water within the heater reaches 120° F, or if the water pressure in the heater
reaches 150 pounds. When this pressure is reached, the pressure relief valve will
open and water will drip from the valve.
This “weeping” or dripping will continue until the pressure is reduced to below 150
pounds, and the valve closes. This condition is normal and does not indicate a
defective relief valve.
One way to reduce the frequency of this occurrence is to maintain an air pocket at
the top of the water heater tank. This air pocket will form in the tank by design;
however, it will be reduced over time by the everyday use of your water heater. To
replenish this air pocket:
1. Turn off the water heater.
2. Turn off the cold water supply line.
3. Open a faucet in the motor home.
WARNING
Do not replace anode rod or any other component with an accessory part that
is not authorized by the water heater manufacturer, such as an “add-on
electric heating element. Such items are not approved to be installed and
could create an unsafe condition and will void all warranties
WARNING
Do not place a valve between the pressure and temperature (P&T) valve and
the tank. Do not remove or plug the relief valve under any circumstances.

Table of Contents

Related product manuals