EasyManua.ls Logo

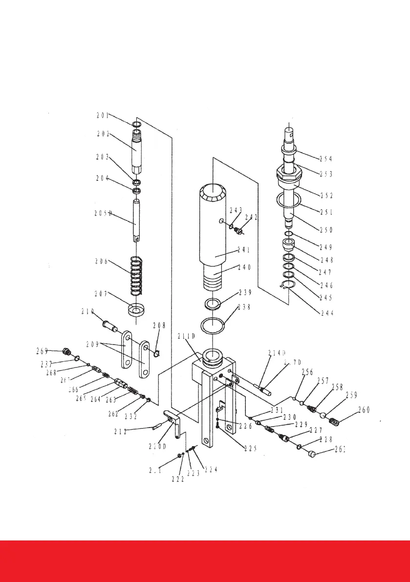
JBS JBSPT150 - Exploded View - Pump (Model 350); Model 350 Pump Components

JBS JBSPT150
18 pages
Print Icon
To Next Page IconTo Next Page
To Next Page IconTo Next Page
To Previous Page IconTo Previous Page
To Previous Page IconTo Previous Page
Loading...
www.jbstools.com
16
EXPLODED VIEW - PUMP
MODEL 350