EasyManua.ls Logo

JUNO JGVN606E1 - How to Navigate in Setting Mode; How to Change a Setting

JUNO JGVN606E1
52 pages
Print Icon
To Next Page IconTo Next Page
To Next Page IconTo Next Page
To Previous Page IconTo Previous Page
To Previous Page IconTo Previous Page
Loading...
AirDry is automatically activated with all
programmes other than Pre Rinse.
CAUTION! Do not try to close
the appliance door within 2
minutes after automatic
opening. This can cause
damage to the appliance.
CAUTION! If children have
access to the appliance, we
advise to deactivate AirDry.
The automatic opening of the
door may pose a danger.
Key tones
The buttons on the control panel make a
click sound when you press them. You
can deactivate this sound.
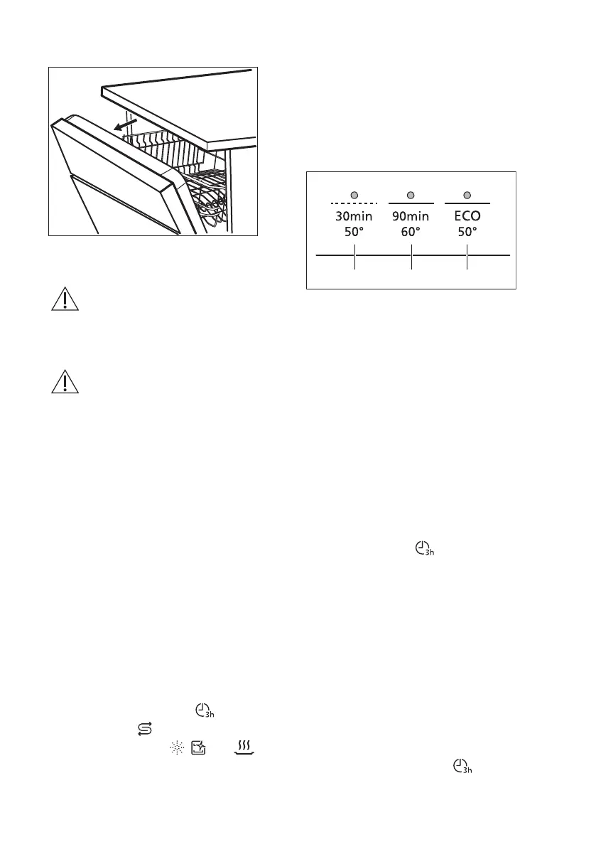
Setting mode
How to enter setting mode
You can enter setting mode before
starting a programme. You cannot enter
setting mode while the programme is
running.
To enter setting mode, press and hold
simultaneously 30min and ECO for about
3 seconds.
The light related to and the
indicator flash.
The indicators , and are
on.
The lights related to the programme
buttons are on.
How to navigate in setting mode
You can navigate in setting mode using
programme buttons.
BA C
A. Previous button
B. OK button
C. Next button
Use Previous and Next to switch
between the basic settings and to change
their value.
Use OK to enter the selected setting and
to confirm changing its value.
How to change a setting
Make sure the appliance is in setting
mode.
1. Press Previous or Next until the
indicator dedicated to the desired
setting flashes.
The light related to
indicates the
current setting value:
For the settings with two values (on
and off), the light is either on (= the
setting is on) or off (= the setting is
off).
For the settings with multiple values
(levels), the light flashes. The
number of flashes indicates the
current setting value (e.g. 5 flashes
+ pause + 5 flashes... = level 5).
2. Press OK to enter the setting.
The indicator related to the setting
is on.
The other indicators are off.
The light related to indicates the
current setting value.
12

Related product manuals