EasyManua.ls Logo

JUNO JGVN606F1 - Page 12

JUNO JGVN606F1
Print Icon
To Next Page IconTo Next Page
To Next Page IconTo Next Page
To Previous Page IconTo Previous Page
To Previous Page IconTo Previous Page
Loading...
programma met een korte droogfase. In
dat geval verlengt de regeneratie de totale
duur van een programma met nog eens 5
minuten.
Vervolgens kan het spoelen van de
waterontharder wat 5 minuten duurt,
beginnen in dezelfde cyclus of aan het
begin van het volgende programma. Deze
activiteit verhoogt het totale waterverbruik
van een programma met 4 liter en het
totale energieverbruik van een programma
met 2 Wh. Het spoelen van de
waterontharder eindigt met een volledige
afvoer.
Elke uitgevoerde waterontharderspoeling
(mogelijk meer dan één in dezelfde
cyclus) kan de programmaduur met nog
eens 5 minuten verlengen wanneer deze
op enig moment aan het begin of in het
midden van een programma plaatsvindt.
Alle in deze paragraaf
genoemde verbruikswaarden
worden bepaald volgens de
huidige geldende norm in
laboratoriumomstandigheden
met waterhardheid 2,5 mmol/l
volgens de verordening
2019/2022 (waterontharder:
niveau 3).
De druk en de temperatuur van
het water en de variaties van
de netvoeding kunnen de
waarden veranderen.
De aanduiding van leeg
glansmiddelreservoir
Met glansmiddel wordt het serviesgoed
zonder vlekken of strepen gedroogd. Het
wordt automatisch vrijgegeven tijdens de
warme spoelfase.
Als het glansmiddelreservoir leeg is, gaat
de glansmiddelindicator branden om aan
te geven dat u glansmiddel moet bijvullen.
Als u tevreden bent met de
droogresultaten bij het gebruik van alleen
multitabletten, kunt u de aanduiding voor
het bijvullen van glansmiddel deactiveren.
Voor de beste droogprestaties dient u
echter altijd glansmiddel te gebruiken.
Schakel de aanduiding in om de
glansmiddelindicator actief te houden als
u standaard wasmiddel of multitabletten
zonder glansmiddel bevat.
Eindsignaal
U kunt een geluidssignaal activeren dat
klinkt bij het beëindigen van het
programma.
Er klinken ook geluidssignalen
als er zich in het apparaat een
storing voordoet. Het is niet
mogelijk deze geluidssignalen
uit te schakelen.
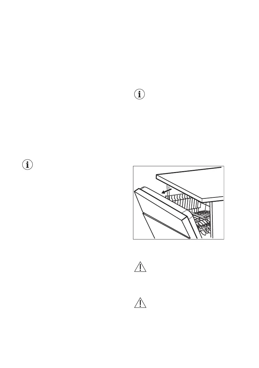
AirDry
AirDry verbetert de droogresultaten.
Tijdens de droogfase opent de deur van
het apparaat automatisch en blijft op een
kier staan.
AirDry wordt bij alle programma's behalve
Pre Rinse automatisch geactiveerd.
LET OP! Probeer de deur van
het apparaat niet binnen 2
minuten na automatisch
openen te sluiten. Dit kan het
apparaat beschadigen.
LET OP! Als kinderen toegang
tot het apparaat hebben,
adviseren we AirDry te
deactiveren. Het automatisch
openen van de deur kan een
gevaar vormen.
12

Related product manuals