EasyManua.ls Logo

JVC EXAD KD-AVX2

JVC EXAD KD-AVX2
267 pages
To Next Page IconTo Next Page
To Next Page IconTo Next Page
To Previous Page IconTo Previous Page
To Previous Page IconTo Previous Page
Loading...
22
ENGLISH
To adjust the screen shape on the unit
See “Aspect” on page 36 for the detail.
A
ASPECT
MPEG
MPEG
Audio
DVD
ASPECT
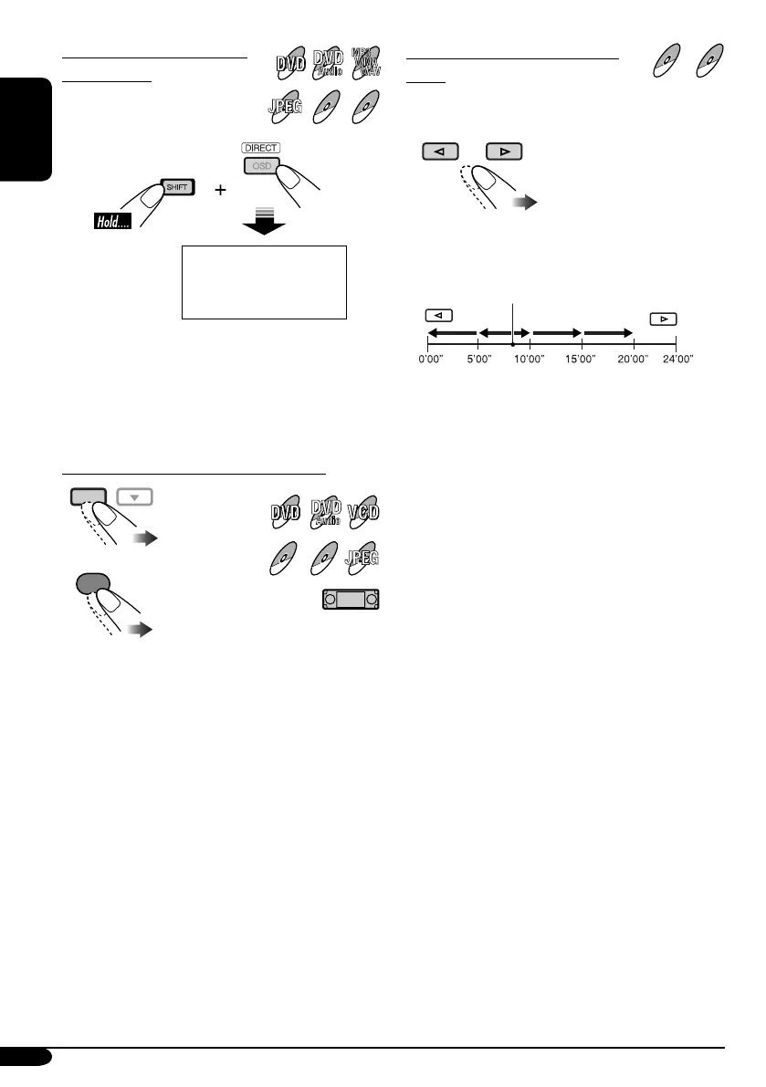
To skip to the next or previous
scene
You can skip the scene back and forward by 5
minutes.
Ex.: when you are playing a 24-minute MPEG
file and the elapsed playing time is 8’24”...
The first pressing of the buttons skips the
scene to the nearest multiple-of-5 playing time
(except current playing time).
This function does not work when remaining
time to skip forward or back is under 5
minutes.
MPEG
MPEG
Current playback position
DivX
DivX
DivX
DivX
To locate a particular title/
group/folder
Within 10 seconds,
press the number
buttons (see page 9).
IMPORTANT:
For MP3/WMA/WAV discs: It is required that
folders are assigned with 2-digit number at the
beginning of their folder names—01, 02, 03,
and so on.
WA
V
MP3
WMA
Audio
DVD
JPEG
JPEG MPEG
MPEG
DivX
DivX
AVX2[E].indb 22AVX2[E].indb 22 06.1.26 2:01:10 PM06.1.26 2:01:10 PM

Other manuals for JVC EXAD KD-AVX2

Related product manuals