EasyManua.ls Logo

Kanto DM1000 - Monitor Attachment to VESA Plate; Attaching Monitor to Plate

Kanto DM1000
12 pages
Print Icon
To Next Page IconTo Next Page
To Next Page IconTo Next Page
To Previous Page IconTo Previous Page
To Previous Page IconTo Previous Page
Loading...
7
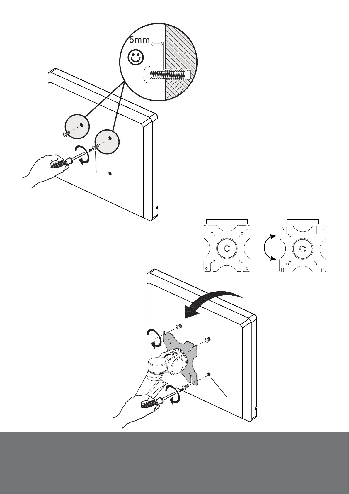
75x75100x100
180°
3.
3.1
3.2
3.3
3.4
F
F

Related product manuals