EasyManua.ls Logo

Kanto MTM65 - Cable Management

Kanto MTM65
16 pages
Print Icon
To Next Page IconTo Next Page
To Next Page IconTo Next Page
To Previous Page IconTo Previous Page
To Previous Page IconTo Previous Page
Loading...
12
x4
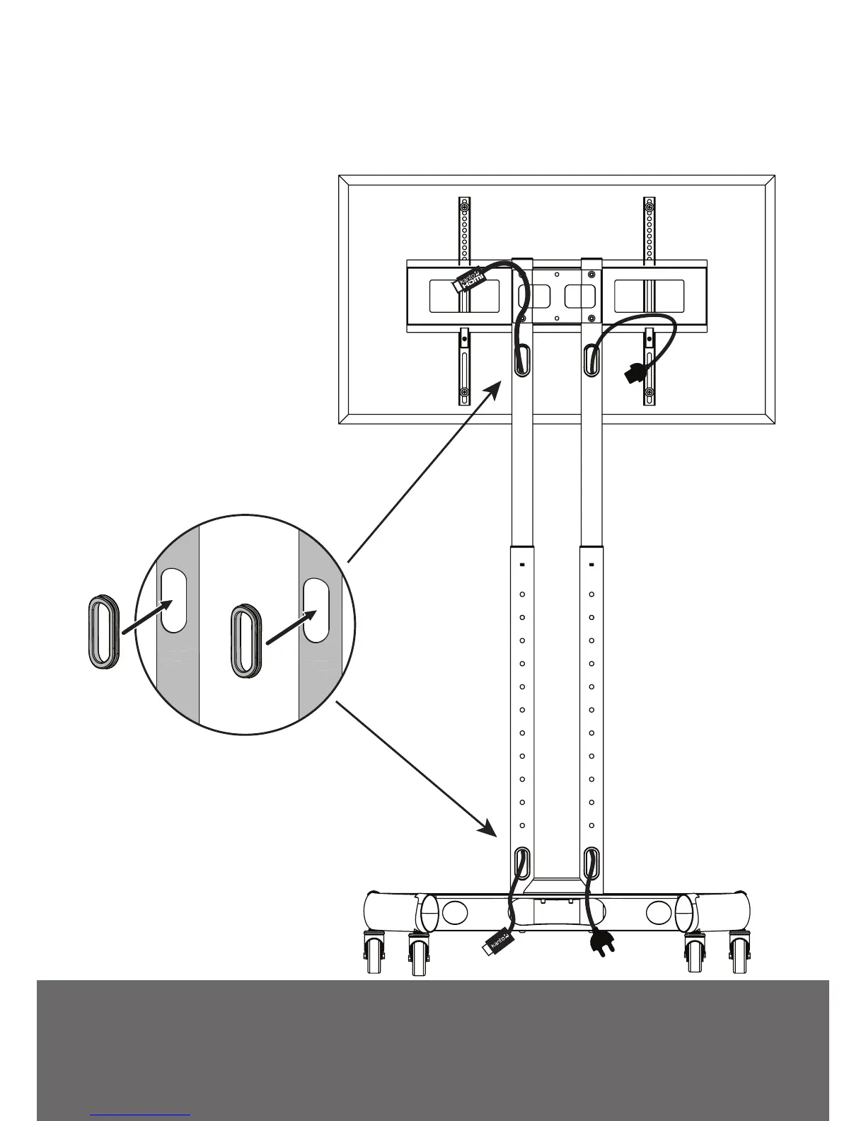
8. Cable Management / Gestion des câbles / Gestión de
cables

Related product manuals