EasyManua.ls Logo

Kanto MTM82PL - Cable Management

Kanto MTM82PL
16 pages
Print Icon
To Next Page IconTo Next Page
To Next Page IconTo Next Page
To Previous Page IconTo Previous Page
To Previous Page IconTo Previous Page
Loading...
12
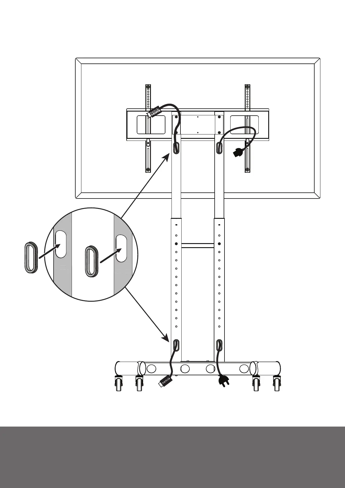
8. Cable Management / Gestion des câbles / Gestión de
cables
x4

Related product manuals