EasyManua.ls Logo

Kanto MTM82PL - Configure Mount Height

Kanto MTM82PL
16 pages
Print Icon
To Next Page IconTo Next Page
To Next Page IconTo Next Page
To Previous Page IconTo Previous Page
To Previous Page IconTo Previous Page
Loading...
8
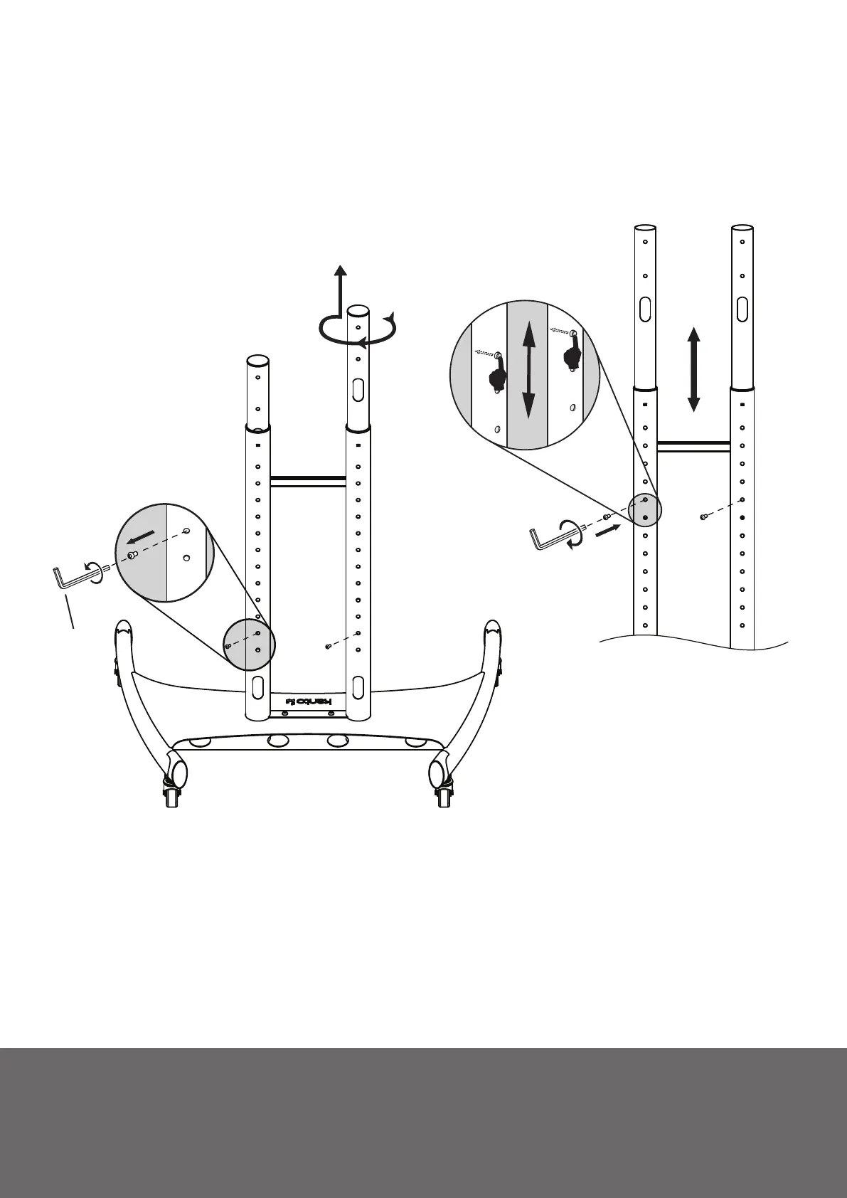
4. Congure Mount Height / Congurer la hauteur de
montage / Congurar la altura de montaje
O
4.1
4.34.2
4.4

Related product manuals