EasyManua.ls Logo

Kanto TTS100 - Assemble Stand Base

Kanto TTS100
16 pages
Print Icon
To Next Page IconTo Next Page
To Next Page IconTo Next Page
To Previous Page IconTo Previous Page
To Previous Page IconTo Previous Page
Loading...
8
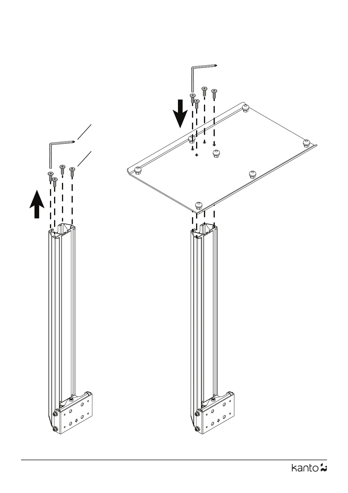
4. Assemble Stand Base
Assemblez la base du support
Ensamble la base del soporte
N
L

Related product manuals