EasyManua.ls Logo

Kason 1967-A2 - Page 2

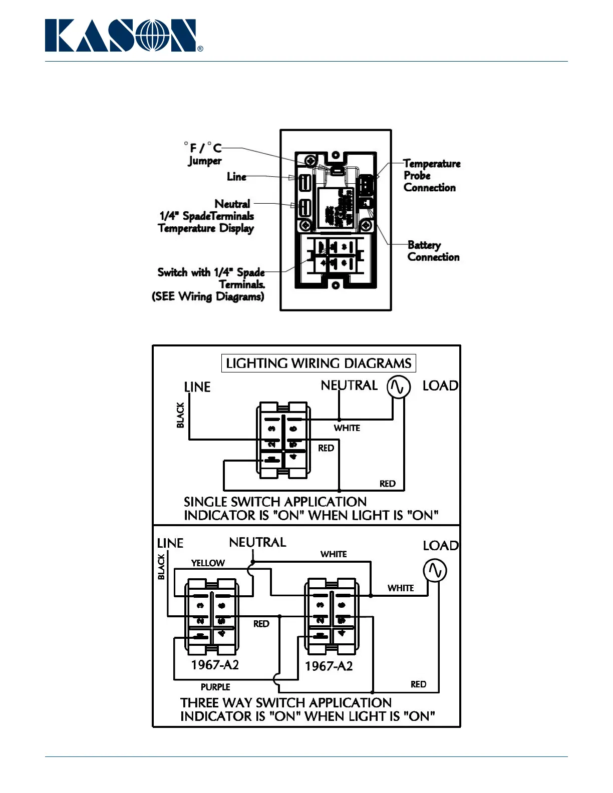
Kason 1967-A2
3 pages
Print Icon
To Next Page IconTo Next Page
To Next Page IconTo Next Page
To Previous Page IconTo Previous Page
To Previous Page IconTo Previous Page
Loading...
© 2019 Kason Industries, Inc. IS-1967-A2 0919 kasonind.com | 1.800.935.2766 | PAGE 2
1967-A2
Part Number: 11967*
INSTALLATION INSTRUCTIONS