EasyManua.ls Logo

Kay 30052 - Cleaning; Storage

Kay 30052
5 pages
Print Icon
To Previous Page IconTo Previous Page
To Previous Page IconTo Previous Page
Loading...
5
K
L
M
M
S1
N1
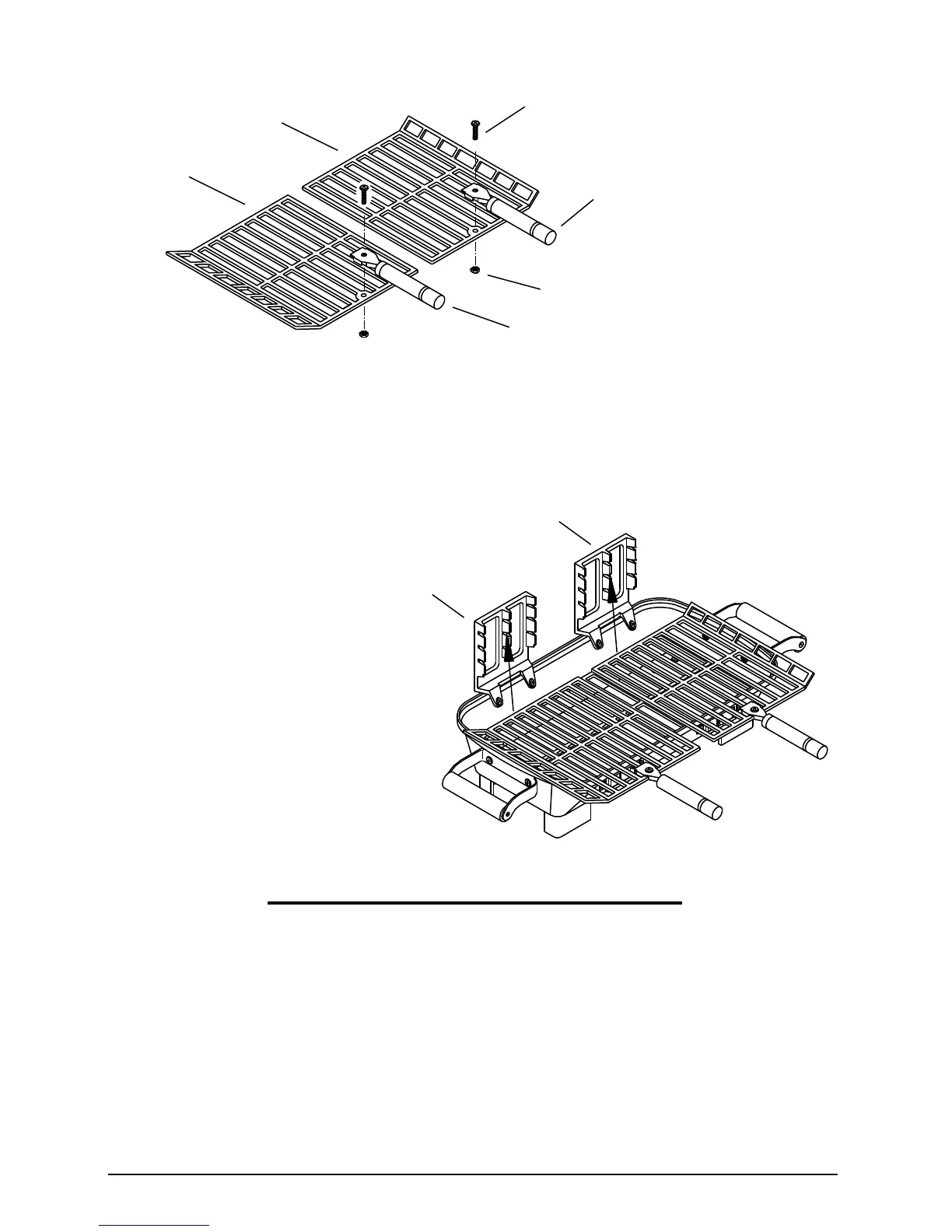
Figure 3
6. Attach Cooking Grid Handles (Item M) to Cooking
Grids (Item K, L) as shown in Figure 3 using Long
screws (S1) and Nuts (N1).
F
F
Figure 4
7. Insert the rear edge of
the cooking grids into slots
in Grid Supports(Item F) as
shown in Figure 4. Using the
lower slots will provide higher
cooking temperature. Using the
higher slots will produce a lower
cooking temperature.
Cleaning
Allow grill to cool completely before cleaning. Disassemble grill and scrape off
grease. Clean with hot, soapy water and rinse completely. Use a wire brush if
necessary on cooking grid. Do not use a self-cleaning oven agent to clean any
part of the grill.
Storage
Allow grill to cool completely before transporting or storing. Place grill on a firm,
level surface.