EasyManua.ls Logo

KEUCO IXMO - Mounting Dimensions

KEUCO IXMO
12 pages
Print Icon
To Next Page IconTo Next Page
To Next Page IconTo Next Page
To Previous Page IconTo Previous Page
To Previous Page IconTo Previous Page
Loading...
2
DE
EN
ES
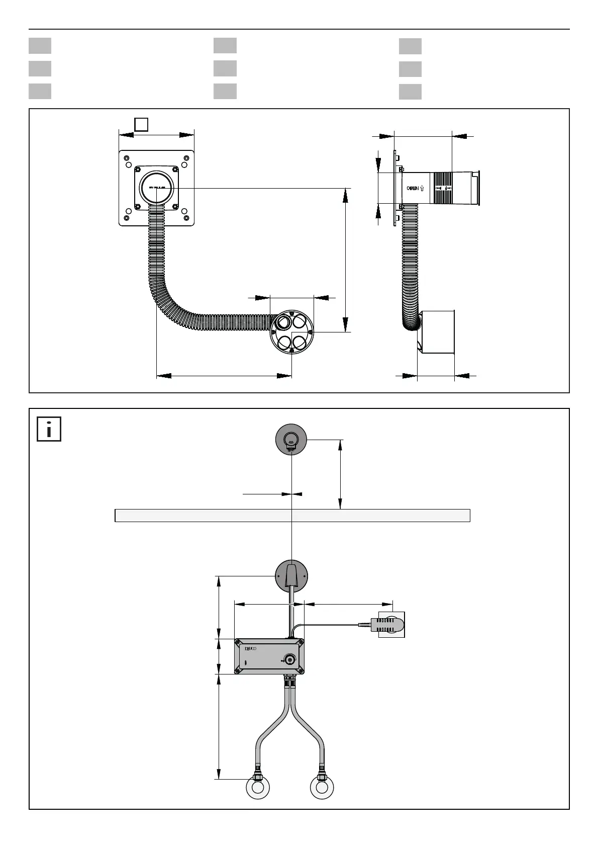
Einbaumaße
Mounting dimensions
Dimensiones de montaje
FR
IT
NL
Cotes de montage
Ingombro
Montageafmetingen
CS
PL
RU
Montážní rozměry
Wymiary montażowe
Монтажные размеры
122
Ø71
60
Ø50
65-95
0-1100
0-1100
59917 000070
162
82
max.550 80-100
max.900
150-200
0-1100
59517 XX000X