EasyManua.ls Logo

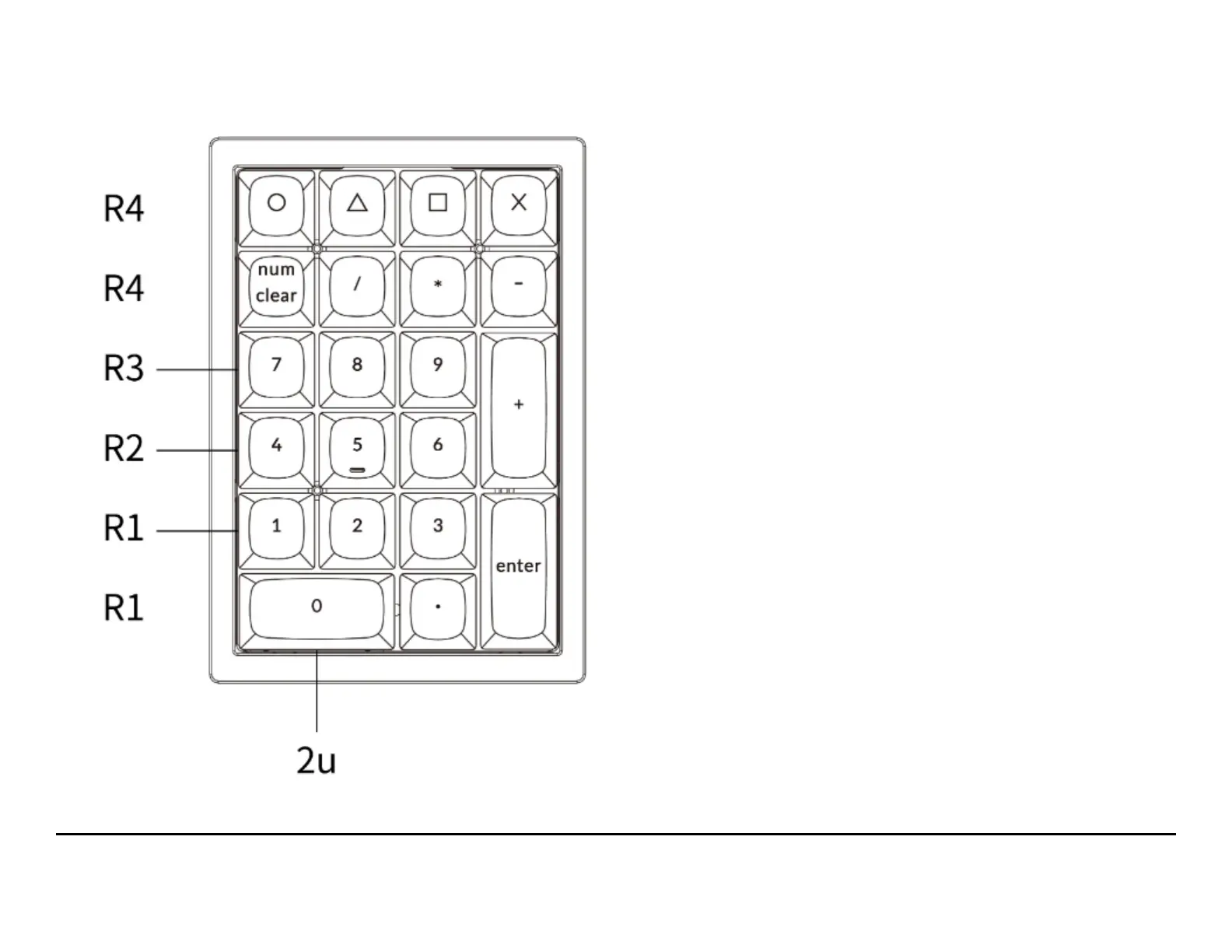
Keychron Q0 - Keycap Size Details

Keychron Q0
20 pages
Print Icon
To Next Page IconTo Next Page
To Next Page IconTo Next Page
To Previous Page IconTo Previous Page
To Previous Page IconTo Previous Page
Loading...
Keychron Q0 Customizable Number Pad Keycaps Size

Related product manuals