EasyManua.ls Logo

Keysight Technologies PNA-L N5230A - Page 4

Keysight Technologies PNA-L N5230A
40 pages
To Next Page IconTo Next Page
To Next Page IconTo Next Page
To Previous Page IconTo Previous Page
To Previous Page IconTo Previous Page
Loading...
4
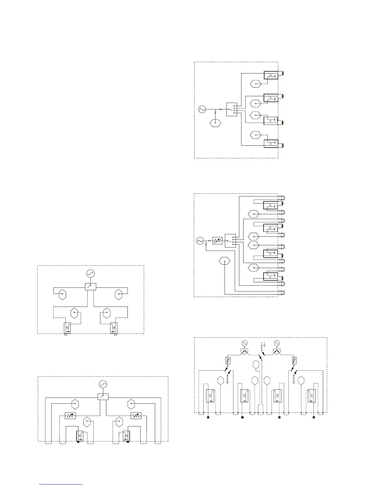
4-port standard test set
4-port configurable test set and extended
power range
4-port configurable test set, extended power
range and internal second source
PNA-L (N5230A)
This guide is intended to assist you in the ordering process.
Additional information and products (such as calibration kits
and cables) are described throughout this document.
Test set options
Standard test set and power range (Option xx0)
The 13.5 and 20 GHz versions are available in 2- or 4-ports.
Configurable test set and extended power range (Option xx5)
Adds front panel access loops and one or two 60 dB step
attenuators as shown in the figures below. This provides the capabil-
ity to improve instrument sensitivity for measuring low-level signals,
to reverse the directional couplers to achieve even more dynamic
range or to add components and other peripheral instruments for a
variety of measurement applications. The 13.5 and 20 GHz versions
are available in 2- or 4-ports.
Configurable test set, extended power range and internal second
source (Option x46)
Available with 4-port models only, this option adds an internal
second source, nine front panel access loops and two 60 dB step
attenuators as shown in the figure below. This provides |an additional
signal (fixed or swept) for two-tone third-order-intercept (TOI) and
intermodulation testing of amplifiers; or it can be used as a fast
swept-LO signal for fixed-IF testing of mixers and converters. In
either case, sweep speed is more than twenty times faster than
using an external source (Option 080 recommended. Please note,
Option 080 is needed in order to have independent control of the two
internal sources.)
2-port standard test set
2-port configurable test set and extended
power range
Source
Switch
PORT 4
Coupler arm
Receiver D in
Source out
Coupler thru
PORT 3
Coupler arm
Receiver C in
Source out
Coupler thru
PORT 2
Coupler thru
Source out
Receiver B in
Coupler arm
PORT 1
Coupler thru
Source out
Receiver A in
Coupler arm
D
R
Reference
receiver
Source out
Receiver R in
C
A
B
60 dB
Source 1
Source 2
Test port 2Test port 1
Test port 4
Test port 3
60 dB 60 dB
R
A B C D
Source
Switch/splitter
Reference
receiver
Reference
receiver
Measurement
receivers
Port 1 Port 2
A
B
R1 R2
Source
Switch/splitter
Reference
receiver
Reference
receiver
Measurement
receivers
Port 1 Port 2
60 dB
A
60 dB
B
R1 R2
Source
out
Rcvr
R1
in
SRC
out
Cplr
thru
Cplr
arm
Rcvr
A
in
Rcvr
R2
in
Source
out
Rcvr
B
in
Cplr
arm
Cplr
thru
SRC
out
Source
Switch
PORT 4
PORT 3
PORT 2
PORT 1
R
Reference
receiver
C
A
B
D

Related product manuals