EasyManua.ls Logo

KitchenAid KSM5 - Page 40

KitchenAid KSM5
42 pages
Print Icon
To Next Page IconTo Next Page
To Next Page IconTo Next Page
To Previous Page IconTo Previous Page
To Previous Page IconTo Previous Page
Loading...
- 40 -
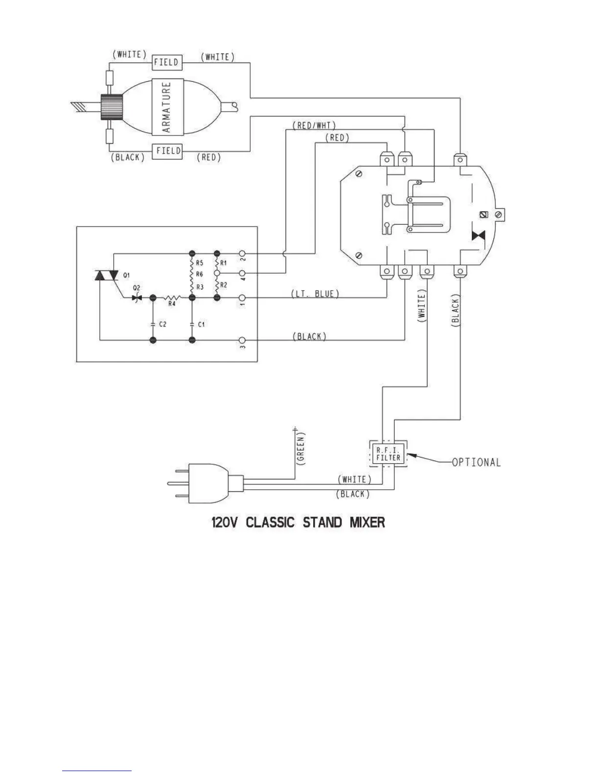
'LDJUDP

Other manuals for KitchenAid KSM5

Related product manuals