EasyManua.ls Logo

KitchenAid KSM95 - Page 40

KitchenAid KSM95
42 pages
Print Icon
To Next Page IconTo Next Page
To Next Page IconTo Next Page
To Previous Page IconTo Previous Page
To Previous Page IconTo Previous Page
Loading...
- 40 -
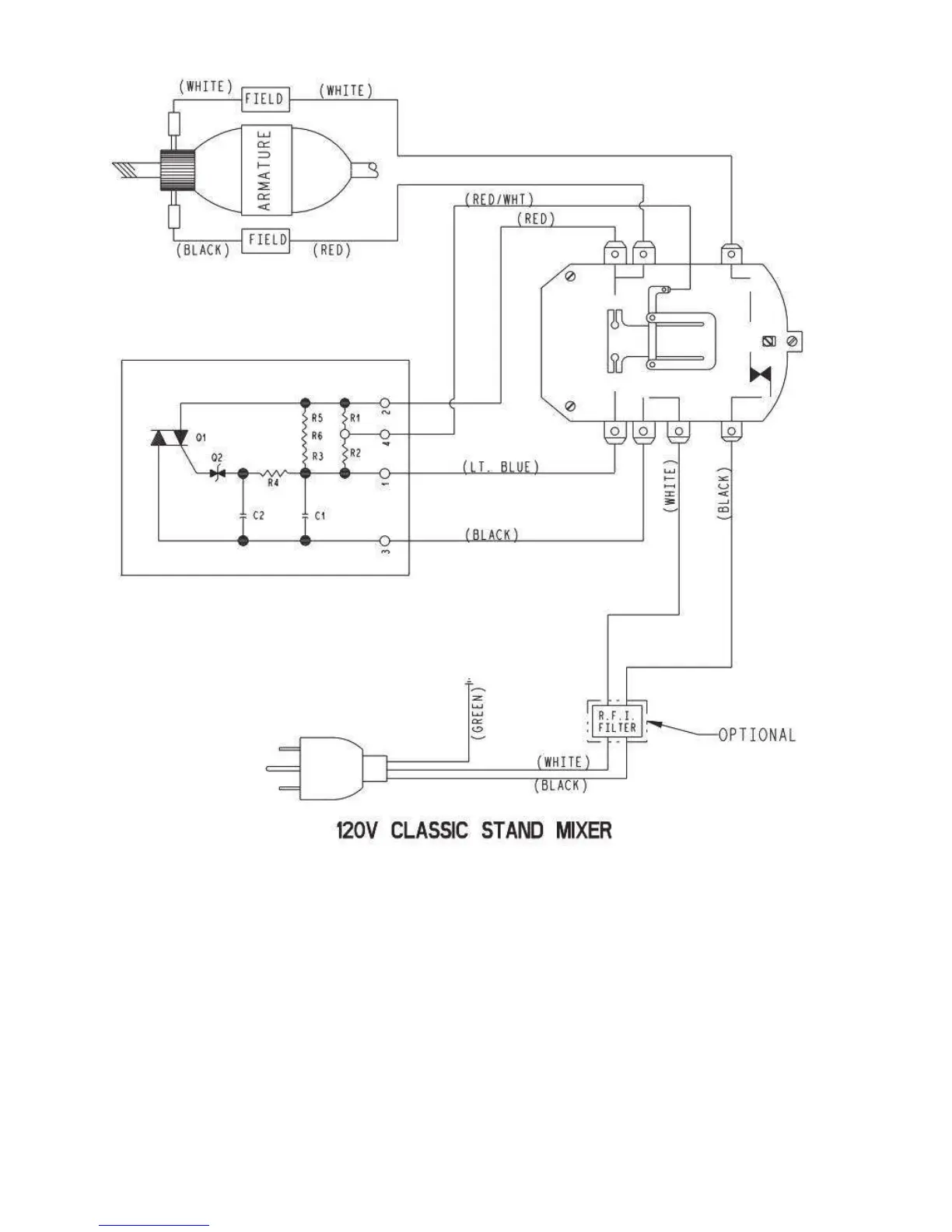
'LDJUDP

Related product manuals