EasyManua.ls Logo

Konica Minolta VC-7D - Page 2

Konica Minolta VC-7D
2 pages
Print Icon
To Previous Page IconTo Previous Page
To Previous Page IconTo Previous Page
Loading...
Turn the grip control switch to ON when taking vertically-framed pic-
tures to activate the grip controls.
ON:
Controls on the VC-7D (shutter-release button, AF/MF control
button, front control dial, etc.) are operational. Controls on the
camera body are operational.
LOCK:
Only the controls on the camera body are operational. The con-
trol grip can still supply full power.
Approximate recording performance:
With two NP-400 lithium-ion batteries ; 800 frames
With six 2300mAh Ni-MH batteries ; 300 frames
Based on the following testing conditions :
full-size images, standard image quality, EVF off, LCD monitor on, flash used with 50% of frames,
no instant playback
TAKING VERTICAL PICTURES
HOLDING STRAP (Sold Separately)
CAUTIONS
SPECIFICATIONS
Dimensions (WxHxD): 145 x 48 x 80.5mm (5.7 x 1.9 x 3.2 in.)
Height with camera: 153mm (6.0 in.)
Weight (without batteries): 265g (9.3 oz.)
Specifications are based on the latest information available at the time of printing and are subject
to change without notice.
The Holding Strap HS-1 is available as an optional accessory which
provides secure holding. Please refer to the HS-1’s instruction manu-
al for attaching the strap.
Use the strap eyelet located near the VC-7D’s electrical contacts. The
neckstrap eyelet near the battery case is for use with the neck strap
supplied with the camera.
Pour les prises de vues en cadrage vertical, mettre la poignée sous
tension en position ON pour activer ses commandes.
ON:
Les commandes de la poignée VC-7D et du boîtier sont opéra-
tionnelles (déclencheur, molettes, touche AF/MF, etc.).
LOCK:
Seules les commandes du boîtier sont opérationnelles.
L’alimentation peut néanmoins être fournie par la poignée VC-
7D.
PRISES DE VUES EN CADRAGE VERTICAL
COURROIE DE MAIN (vendue séparément)
La courroie de main HS-1 est un accessoire optionnel qui assure
une tenue sécurisante de l’ensemble boîtier et poignée. Pour sa fixa-
tion, consulter son mode d’emploi.
Utiliser l’œillet situé près des contacts de la VC-7D. L’œillet situé près
du logement piles est destiné à la fixation de la courroie de cou livrée
avec le boîtier.
Battery Cautions
Remove the batteries when storing the battery pack for an extended period of time.
Ni-MH batteries can lose its power suddenly. If the low-battery indicator appears, or LCD moni-
tor turns off while taking pictures, change or recharge the batteries.
Lens Notes
The tripod-mounting collar on the AF70-200mm f/2.8 Apo G(D)SSM and AF Apo Tele Macro
200mm f/4G lens may hinder operation. Remove the collar or swing it to a position that allows
the grip to be used.
When the AF70-200mm f/2.8 Apo G(D)SSM lens is mounted vertically on a tripod, the Focus-
mode switch, DMF-mode switch, and Focus-range limiter may be inaccessable. Rotate the lens
to the horizontal position to use the controls.
Operating Temperature and Conditions
This product is designed for use from 0 to 40 °C (32 - 104 °F).
Never leave this product where it may be subjected to extreme temperatures, such as the glove
compartment of a car.
To prevent condensation from forming, place this product in a sealed plastic bag when bringing
it from a cold environment to a warm environment. Allow it to come to room temperature before
removing it from the bag.
Please use AA-size Ni-MH rechargeable batteries in temperatures higher than 10 °C(50 °F).
When photographing in cold weather, it is recommended that the camera and vertical control
grip and spare batteries are kept inside your coat to keep them warm when not shooting. Cold
batteries will regain some of their charge when they warm up. Lithium-ion batteries are recom-
mended for use in cold weather.
Other Cautions
Keep the electrical contacts clean using a blower brush. If the contacts are dirty, the camera
may not operate properly, or low-battery indicator may appear even with a fresh battery.
Do not disassemble. Take your vertical control grip to a Konica Minolta Service Facility when
repairs are required.
AVERTISSEMENTS
Avertissements concernant les piles
Enlever les piles/accus de l’alimentation externe si elle doit rester inutilisée un certain temps.
Les accus Ni-MH peuvent perdre leur puissance soudainement. Si l’indicateur de piles épuisées
apparaît, ou si tous les affichages disparaissent en cours de prise de vues, changer les piles ou
recharger les accus/batteries.
Note concernant certains objectifs
Les colliers de trépied du Zoom AF 70-200 mm f/2,8 APO G(D) SSM et du téléobjectif Macro
200 mm f/4 G peuvent gêner l’utilisation correcte de la poignée VC-7D. Démonter ce collier de
trépied ou le faire tourner dans une position qui m’empêche pas l’utilisation normale de la
poignée.
Lorsque le zoom AF 70-200 mm f/2,8 APO G(D) SSM est monté sur un trépied avec une orien-
tation pour un cadrage en vertical, le curseur de mode AF, celui du mode de retouche manuelle
directe (DMF) et le limiteur de plage de mise au point peuvent être inaccessibles. Ramener l’ob-
jectif et le boîtier en position horizontale pour pouvoir utiliser ces commandes.
Conditions et température d’utilisation
Cet appareil est conçu pour fonctionner entre 0° et 40° C.
Ne pas laisser l’appareil dans des endroits où il risque d’être exposé à des températures
extrêmes, comme la boîte à gants d’un véhicule exposé au soleil par exemple.
Pour éviter la formation de buée lorsque l’appareil est transposé de l’extérieur froid vers un
intérieur chauffé, placez-le dans un sac en plastique. Laissez-le reprendre la température
ambiante de la pièce avant de l’utiliser.
Ne pas utiliser d'accus rechargeables Ni-MH type AA par température ambiante inférieure à
10°.
Par temps très froid, il est recommandé de conserver au chaud l’appareil, la poignée et des
piles de rechange (à l’intérieur d’un manteau par exemple). L’autonomie des piles diminue par
basse température. Elles peuvent néanmoins retrouver une partie de leur autonomie après
avoir été réchauffées. L’utilisation d’accus lithium-ion est recommandée par temps froid.
Autres précautions
Nettoyer régulièrement les contacts de liaison de la poignée avec un pinceau ou une soufflette.
Si ces contacts électriques ne sont pas parfaitement propres, l’appareil peut ne pas fonctionner
correctement ou l’indicateur
d
e batterie épuisée apparaître même si la batterie est chargée.
Ne pas démonter la poignée VC-7D. Pour toute réparation, la confier à un revendeur Konica
Minolta.
Performances approximatives en enregistrement:
Avec 2 batteries lithium-ion NP-400 ; 800 images
Avec 6 batteries Ni-MH 2300 mAh; 300 images
Performances basées sur les conditions suivantes :
images pleine résolution, qualité standard, viseur éteint, écran ACL allumé, flash pour 50% des
images, pas de visualisation instantanée
CARACTÉRISTIQUES
Dimensions (Lxhxl) : 145 x 48 x 80,5 mm
Hauteur avec l’appareil : 153mm
Poids (sans piles) : 265 g
Les caractéristiques mentionnées sont basées sur les dernières informations disponibles au
moment de l’impression et sont sujettes à modification sans préavis.
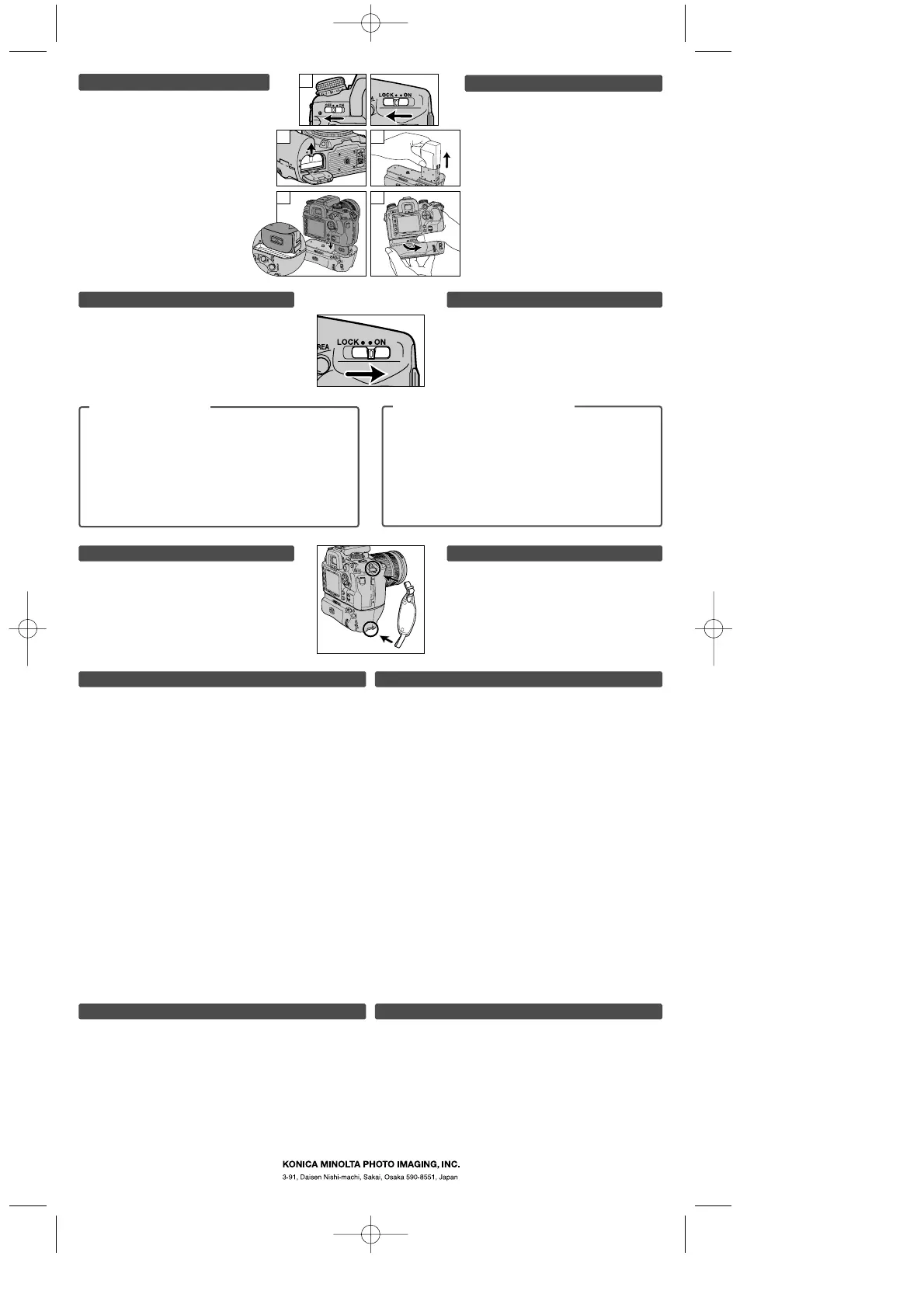
1. Turn the camera off.
Turn the grip-control switch on the VC-7D to
“LOCK”.
2. With the camera off, open the camera's bat-
tery-chamber door and remove the battery.
3. Slide the cap from the guide bar on the VC-7D.
Replace the cap to protect the contacts after use.
4. Insert the guide bar into the camera's battery
chamber. The battery-chamber door will slide
into the door slot of the battery pack. Align the
attaching screw of the battery pack with the
tripod socket on the camera.
5. Turn the attaching screw until the control grip
is securely in place.
If the camera cannot be turned on, check the batteries
have been inserted correctly. If the batteries are
exhausted, replace or recharge them.
ATTACHING THE VC-7D TO THE CAMERA
1. Mettre le boîtier hors tension.
Mettre l’interrupteur de mise en service de la poignée
VC-7D en position “LOCK”.
2. L’appareil photo étant hors tension, ouvrir le compar-
timent piles et enlever les piles.
3. Retirer le capuchon du coupleur de la VC-7D.
Remettre ce capot en place après retrait de la poignée.
4. Insérer le coupleur dans le compartiment piles. La
porte du compartiment vient s’engager dans l’em-
placement prévu à cet effet sur l’alimentation externe.
Aligner la vis de fixation de l’alimentation externe
face à l’écrou de fixation de trépied de l’appareil.
5. Fixer fermement la poignée par la vis de fixation.
Si l’appareil photo ne peut être mis sous tension, vérifier que les
piles/accus ou les batteries ont été bien insérées. Si les
piles/accus ou les batteries sont épuisées, les remplacer ou les
recharger.
FIXATION DE LA POIGNÉE VC-7D AU BOÎTIER
1
2 3
4 5
FOCUS-AREA SELECTION BUTTON
The AF area can be selected by pressing the focus-area selection button on the
control grip. The active area depends on the position of the camera’s focus-area
switch:
(1) Focus-area switch:Wide focus area position
Press and hold the focus-area selection button to activate the spot AF area.
(2) Focus-area switch:Focus-area selection position
Press and hold the focus-area selection button to activate the AF area indicated on
the monitor.
While holding the focus-area selection button, turn the front control dial on the control
grip to select another AF area.
When the camera’s focus-area switch is in the lock position, the focus-area selection
button on the control grip is disabled.
TOUCHE DE SÉLECTION DE ZONE DE MISE AU POINT
La zone AF peut être sélectionnée en appuyant sur la touche de sélection de zone
AF de la poignée de contrôle. La zone activable dépend de la position du sélecteur
de zone AF du boîtier :
(1) Sélecteur de zone AF: plage AF large
Appuyer et maintenir la pression sur la touche de sélection de zone AF pour activer la
zone spot AF.
(2) Sélecteur de zone AF : sélection d’une zone AF ponctuelle
Appuyer et maintenir la pression sur la touche de sélection de zone AF pour activer la
zone AF affichée à l’écran.
Tout en maintenant la pression sur la touche, tourner la molette de sélection située à
l’avant de la poignée pour sélectionner une autre zone AF.
Lorsque le sélecteur du boîtier est en possition verrouillée, la touche de sélection de
zone AF de la poignée est désactivée.
VC-7D_EF.qxd 04.10.1 4:36 PM Page 2