EasyManua.ls Logo

Kripsol BL450 - Filter Components Diagram

Kripsol BL450
10 pages
Print Icon
To Next Page IconTo Next Page
To Next Page IconTo Next Page
To Previous Page IconTo Previous Page
To Previous Page IconTo Previous Page
Loading...
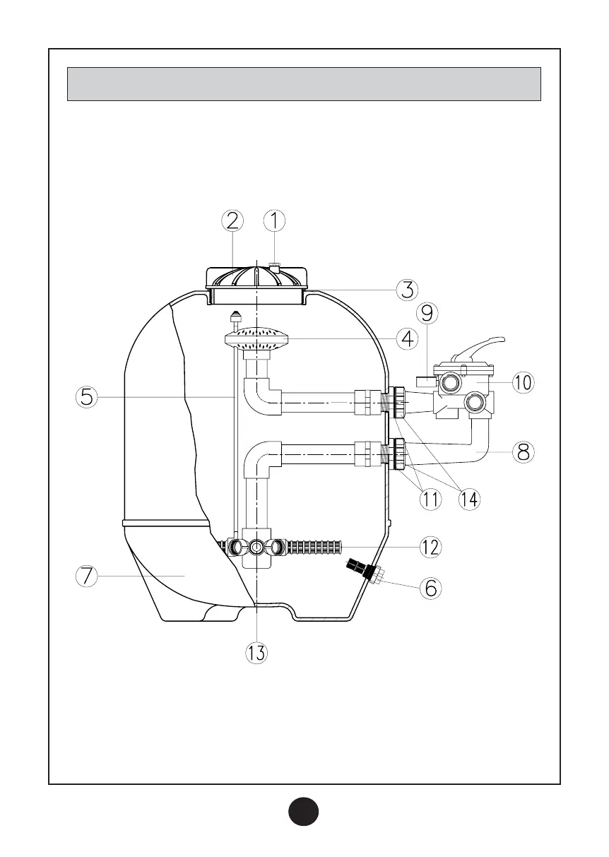
DESPIECE / PARTS DRAWING / PLAN DE DESMONTAGE
ZEICHNUNG / DISEGNO / СОСТАВНЫЕ ЧАСТИ
2

Related product manuals