EasyManua.ls Logo

Kripsol BL640 - Sand Filter Parts Diagram

Kripsol BL640
10 pages
Print Icon
To Next Page IconTo Next Page
To Next Page IconTo Next Page
To Previous Page IconTo Previous Page
To Previous Page IconTo Previous Page
Loading...
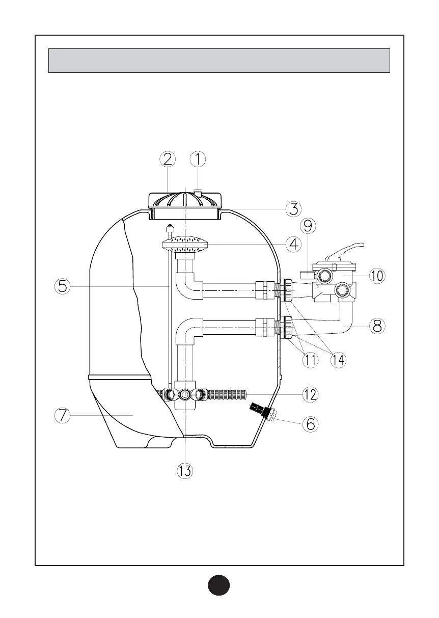
DESPIECE / PARTS DRAWING / PLAN DE DESMONTAGE
ZEICHNUNG / DISEGNO / СОСТАВНЫЕ ЧАСТИ
2

Related product manuals