EasyManua.ls Logo

Landi Renzo LAMBDA CONTROL SYSTEM/2 - Page 4

Default Icon
Print Icon
To Next Page IconTo Next Page
To Next Page IconTo Next Page
To Previous Page IconTo Previous Page
To Previous Page IconTo Previous Page
Loading...
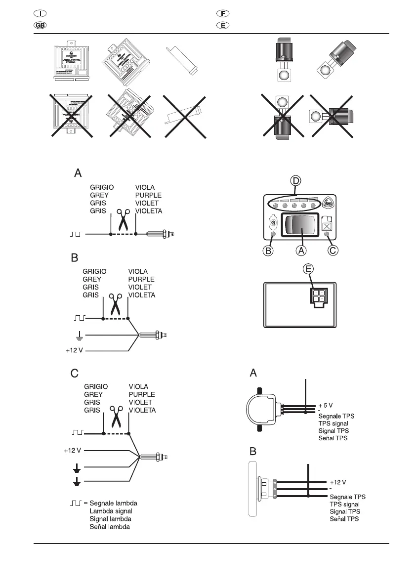
Technical Drawings
Schemi Tecnici Schémas Techniques
Esquema Técnicos
LANDI RENZO S.p.A.
Manuale di installazione e regolazione Lambda Control System/2
4/38
Fig. 4Fig. 3
Fig. 5
Fig. 6 Fig. 7

Related product manuals