EasyManua.ls Logo

Laser Works LW600PRO - Initial Setup and Basic Functions; Boot Screen and Default Mode; Unit Conversion Guide

Laser Works LW600PRO
18 pages
Print Icon
To Next Page IconTo Next Page
To Next Page IconTo Next Page
To Previous Page IconTo Previous Page
To Previous Page IconTo Previous Page
Loading...
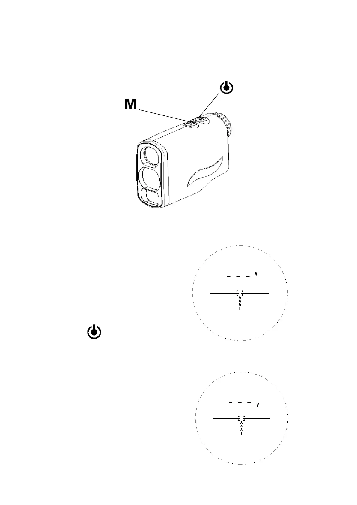
1 The boot screen
Press key to boot.
Boot default mode is ranging
2 Unit conversion