EasyManua.ls Logo

Lewis 150-2 - Page 27

Default Icon
41 pages
Print Icon
To Next Page IconTo Next Page
To Next Page IconTo Next Page
To Previous Page IconTo Previous Page
To Previous Page IconTo Previous Page
Loading...
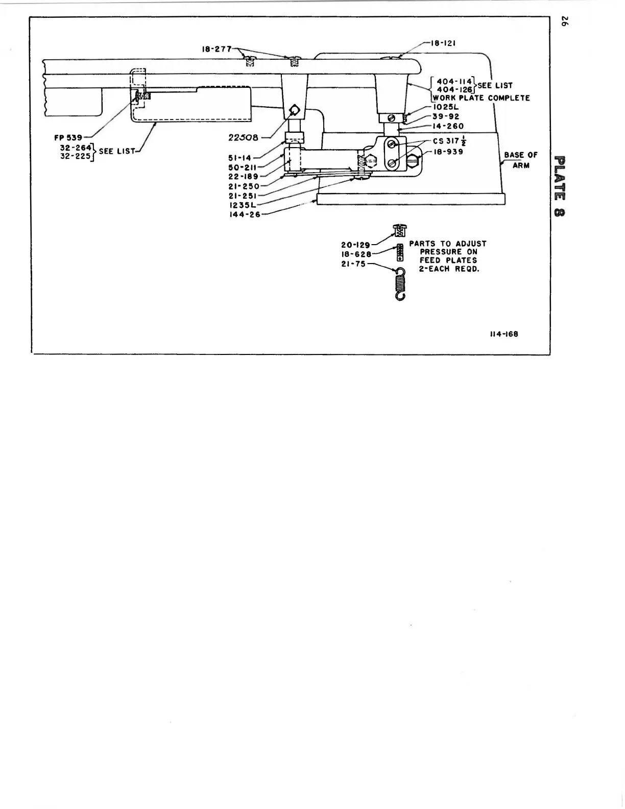
FP
!539
32-26
4
1,
SEE
LIST
32-225J
18-277
51•14
50-211
22
·189
21
250
21·251
1235L.
-----
~
-
144
·
26
404-114LsEE
LIST
404-126]
WORK
PLATE
COMPLETE
102!5L.
39-92
14-260
cs
317}-
18-939
20·129~=-1
PARTS
TO
ADJUST
18
628
PRESSURE
ON
FEED
PLATES
2I·TO~
2•EACH
REQD.
BASE
OF
ARM
114·168
.,
,..
~
"'
00
From the library of: Superior Sewing Machine & Supply LLC

Related product manuals