EasyManua.ls Logo

LG GR-P257 - Compensation and Sensor Circuits

LG GR-P257
128 pages
To Next Page IconTo Next Page
To Next Page IconTo Next Page
To Previous Page IconTo Previous Page
To Previous Page IconTo Previous Page
Loading...
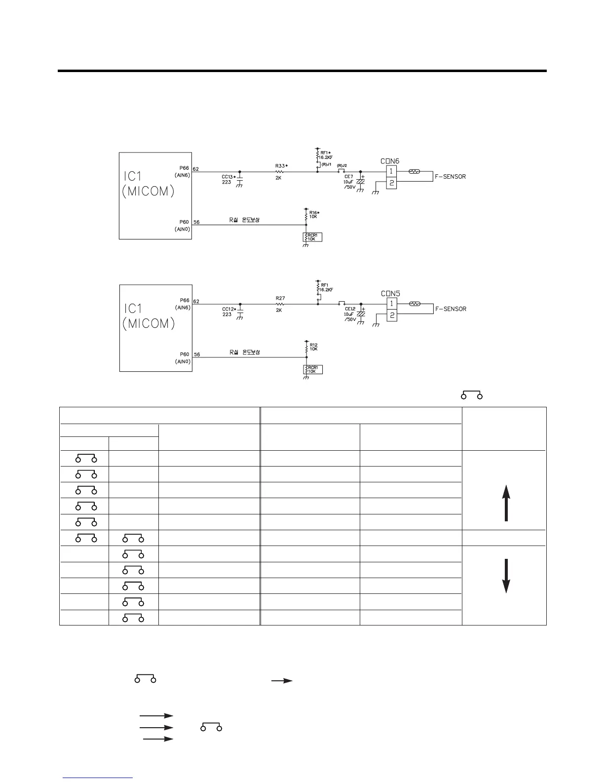
1-10. Temperature compensation and over-cool/weak-cool compensation circuit
1. Temperature compensation at freezing room, cold storage room
1) GR-P257, L257, P217, L217
2) GR-C257, B257, C217, B217
u Temperature compensation table by adjustment value (difference value against current temperature)
Ex) If changing compensation resistance at a cold storage room (RCR1) from 10 k (current resistance) to 18 k
(modified resistance), temperature at the cold storage will increase by +1°C.
Ex) Now (R)J1= , (R)J2=1.2k, RCRI=5.6k want to compensate -2°C for Freezing room temperature and
+2°C for Cold storage room temperature
(R)J1 = 12k 1k
(R)J2 = 12k
RCRI = 5.6k 18k
EXPLATION FOR MICOM CIRCUIT
- 46 -
(R)J1
(R)J2
Freezing room Cold storage room
Resistance value
Temperature Resistance value Temperature Remarks
(R)J1 (R)J2
compensation (RCR1) compensation
+5 °C 180 k +2.5 °C Warmly
+4 °C 56 k +2.0 °C compensate
+3 °C 33 k +1.5 °C
+2 °C 18 k +1.0 °C
+1 °C 12 k +0.5 °C
0 °C 10 k 0 °C
Reference temperature
-1 °C 8.2 k -0.5 °C
-2 °C 5.6 k -1.0 °C
-3 °C 3.3 k -1.5 °C
-4 °C2 k -2.0 °C Coolly
-5 °C 470 -2.5 °C compensate
6.2 k
5.1 k
3 k
2.4 k
1.2 k
1 k
1.8 k
2.7 k
3.9 k
5.1 k
: JUMP WIRE

Related product manuals