EasyManua.ls Logo

LG GR-R491JCA - Page 28

LG GR-R491JCA
46 pages
Print Icon
To Next Page IconTo Next Page
To Next Page IconTo Next Page
To Previous Page IconTo Previous Page
To Previous Page IconTo Previous Page
Loading...
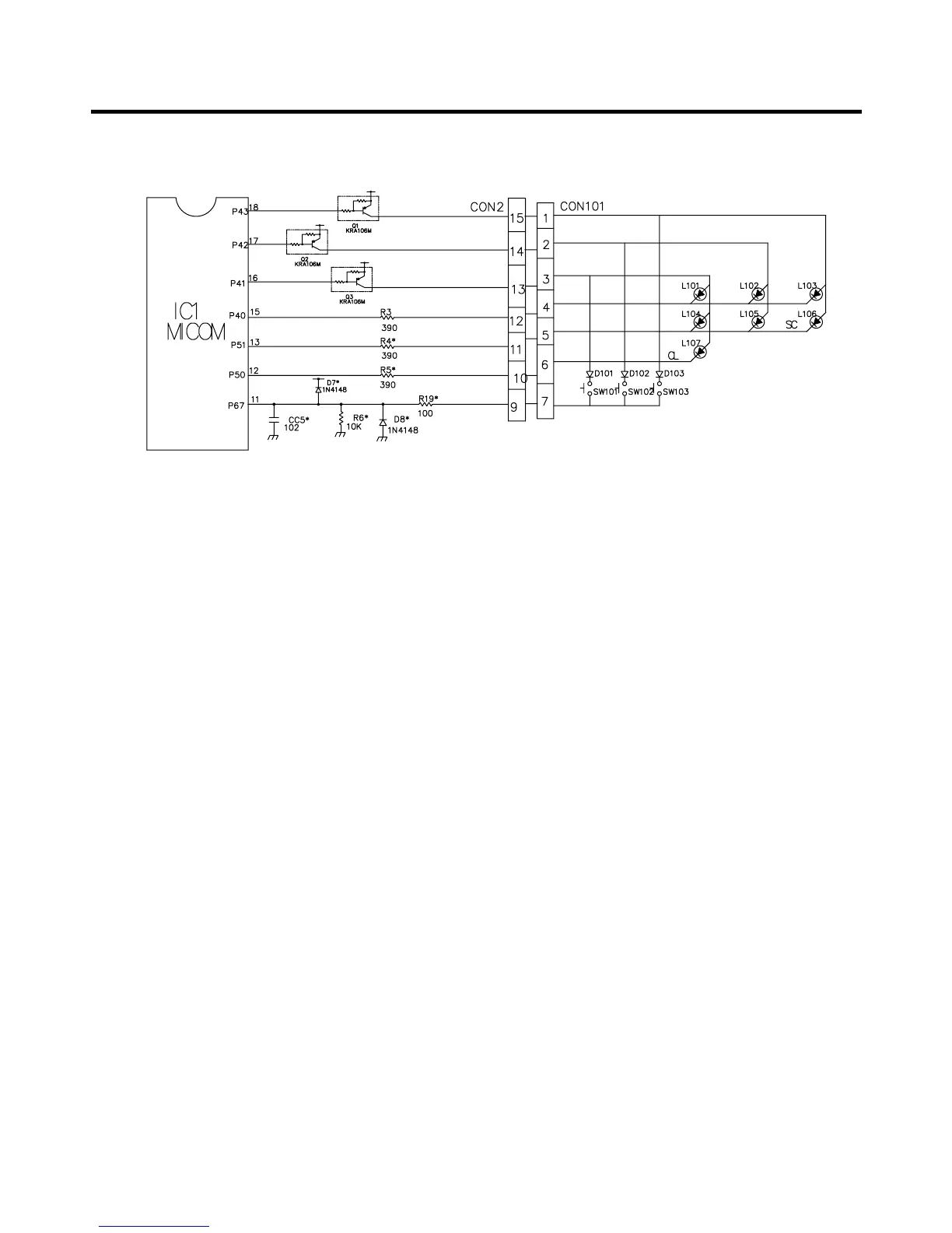
7-2-8 KEY BUTTON INPUT & DISPLAY LIGHT ON CIRCUIT
The circuit shown above is to determine whether a function control key on the operation display is pushed and to turn on
the corresponding function indication LED. The drive type is the scan type.
- 28 -

Related product manuals