EasyManua.ls Logo

LG OLED77G16LA - Page 13

LG OLED77G16LA
27 pages
Print Icon
To Next Page IconTo Next Page
To Next Page IconTo Next Page
To Previous Page IconTo Previous Page
To Previous Page IconTo Previous Page
Loading...
13
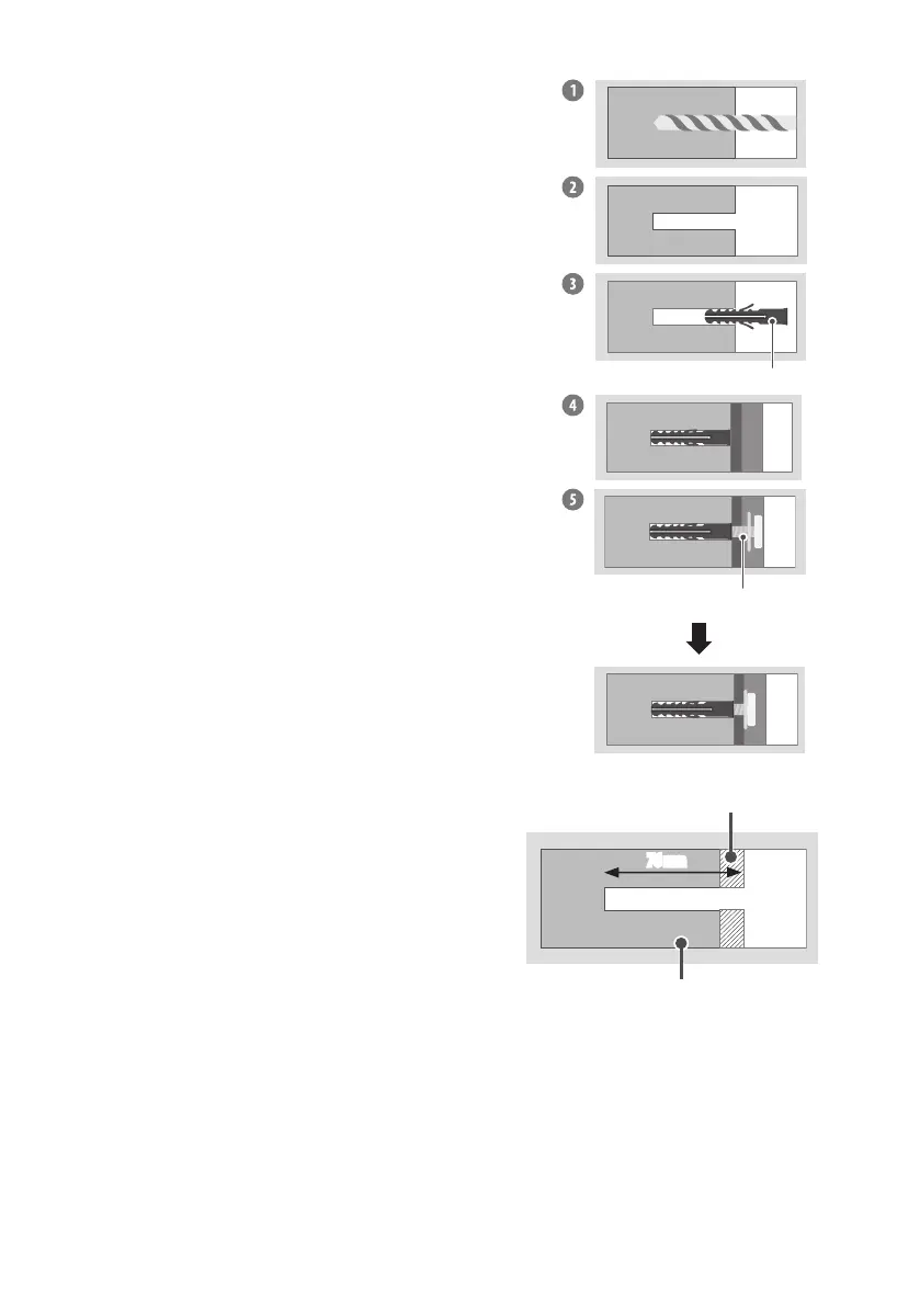
For installation on concrete wall
1 Drill holes in anchor locations with a drill bit of Ø 8 mm to a depth of 80 mm to 100 mm.
2 Clean the drilled holes.
3 Insert the enclosed anchors for fixing the wall mount into the holes. (Use a hammer when
inserting anchors.)
Wall mounting anchor
4 Push the wall mount support closely toward the wall to match the hole locations.
5 Tighten screws for fixing the wall mount to the holes. At this time, tighten the screws to a
torque of between 45 kgf/cm to 60 kgf/cm.
Wall mounting screw
For installation on wood stud
Use the Ø 4 mm drill bit for wood to drill holes with the depth of 76 mm. (Clean the
drilled hole.)
Without using the wall mounting anchor, fasten the wall mounting screw directly
to the wood stud.
Drywall
Wood stud
76 mm

Related product manuals